导向支架图例

垂直管道导向支架的设置
图片尺寸407x450
热力管道导向支架
图片尺寸560x403
某热力管道导向支架设计cad图热力管道设计
图片尺寸250x227
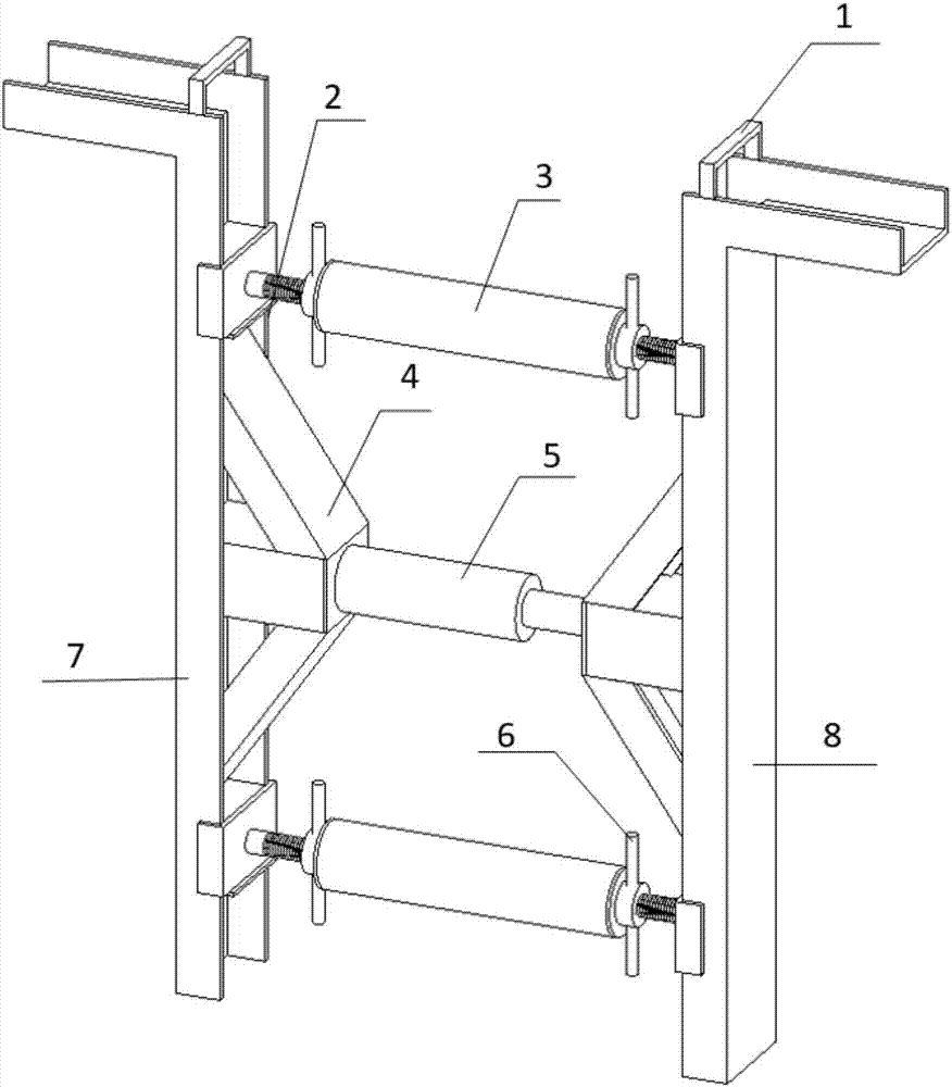
cn203488844u_一种垂直保温管道导向支架有效
图片尺寸918x1000
cn208039300u_一种可重复使用的装配式可调节导向墙内支撑架有效
图片尺寸876x1000![[方案][广东]排水泵站基坑双排钢板桩围堰与钢支撑施工方案](https://i.ecywang.com/upload/1/img2.baidu.com/it/u=2171943168,2825544500&fm=253&fmt=auto&app=138&f=JPEG?w=560&h=183)
[方案][广东]排水泵站基坑双排钢板桩围堰与钢支撑施工方案
图片尺寸560x183
厂家定制管道滑动支座 管道支架 管道管托 固定管道管架管夹
图片尺寸800x527
cn112747186a_一种带有导向支架的高温管道减振装置和减振方法
图片尺寸974x1294
一种导向支架的制作方法
图片尺寸903x1000
空调水管道导向支架节点示意图
图片尺寸438x414
典型管道支架图例
图片尺寸712x507
某热力管道导向支架施工cad图热力管道支架施工
图片尺寸332x175
典型管道支架图例
图片尺寸710x503
导向支架是以滑动支架为基础,在滑动支架两侧的支架横梁上,每侧各焊置
图片尺寸640x387
线材张力导向架
图片尺寸789x517
cn100581891c_线性导向转向架失效
图片尺寸2044x2021
打桩用导向架制造技术,导向支架专利_技高网
图片尺寸1000x671
热力管道未合理加设导向支架
图片尺寸980x453
钢板桩导向架示意图
图片尺寸560x420
导向支架: 用于只允许管道纵向位移的地方.
图片尺寸413x489