导向轮结构图

可自动调节间隙的导向轮组件的制作方法
图片尺寸1000x878
电梯导向轮制作尺寸
图片尺寸893x502
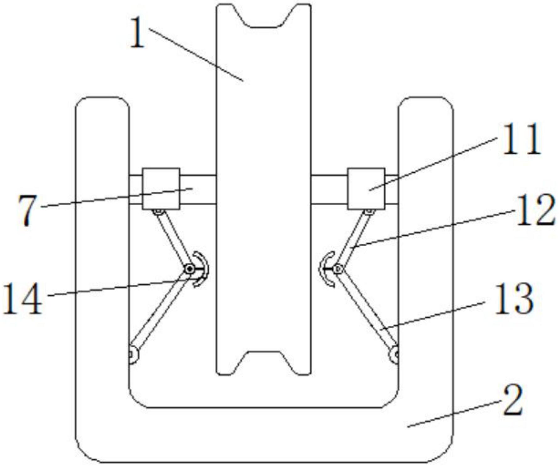
cn213598537u_减缓震动的导向轮结构有效
图片尺寸1779x1487
提供一种可自动调节间隙的导向轮组件,其结构简单,紧凑,合理,可以让
图片尺寸907x1000
绳锯机导向轮新式结构
图片尺寸1740x2731
高可靠性导向轮结构及挖掘机制造技术
图片尺寸877x1000
导向轮总成结构 - cn201711314257.
图片尺寸1000x426
挖机柳工clg220/920/925引导涨紧地导向轮厂家直销底盘配件
图片尺寸1920x1079
无轮缘车轮加装水平导向轮的设计
图片尺寸640x331
一种尼龙电梯导向轮的制作方法
图片尺寸434x422
一种捞渣机轴承外置浸水导向轮的制作方法
图片尺寸965x1000
尼龙绳等软体线性物体移动过程中的方向引导,导向轮带有滑轮结构,在
图片尺寸1000x833
一种双导向轮结构制造技术
图片尺寸625x1000
一种挖掘机导向轮快速安装结构制造技术
图片尺寸1000x821
车辆 本专利技术属于导向轮结构
图片尺寸941x1000
高可靠性导向轮结构及挖掘机 - cn201711094040.
图片尺寸879x1000![一种能调节升降的水平导向轮装置[1],其结构特点如图1 所示,包括一个](https://i.ecywang.com/upload/1/img0.baidu.com/it/u=2447972489,3288568309&fm=253&fmt=auto&app=138&f=JPEG?w=660&h=372)
一种能调节升降的水平导向轮装置[1],其结构特点如图1 所示,包括一个
图片尺寸660x372
背景技术:现有市场上的履带导向轮等密封方式主要采用双油封结构或单
图片尺寸816x1000
带水套冷却结构的棒料导向轮的制作方法
图片尺寸800x1000
双轮定位导向轮
图片尺寸701x493