导槽机构简图

cn201980691u_自动调整双密封导料槽失效
图片尺寸2388x1650
可调节导槽传动机构
图片尺寸1266x1280
一种复合式排导槽结构-爱企查
图片尺寸800x480
一种防水导轨辅槽安装结构-爱企查
图片尺寸1624x1139
一种水轮机导水机构的制作方法
图片尺寸443x382
一种带式运输机导料槽的制作方法
图片尺寸656x529
工件的夹紧机构和分别设置在底板上两端的v型块,所述v型块上设有v型槽
图片尺寸1612x1886
cn203091431u_一种高线水冷段滚动导槽有效
图片尺寸278x290
导路(导槽)与相对移动 方向一致. 画出接触处的曲线轮廓.
图片尺寸1080x810
cn109094771a_一种滑槽式内联动导向机构在审
图片尺寸1661x2048
这里主要其关键作用的结构有拉杆,滑块(滑块上主要有拉杆导槽结构和
图片尺寸946x424
一种可防止堵塞的新型导料槽的制作方法
图片尺寸443x435
一种导料槽制造技术
图片尺寸1000x763
其特征在于:包括连接在机床上的底板,底板上设置有纵向的导槽,导槽内
图片尺寸1429x664
商标logo
图片尺寸800x434
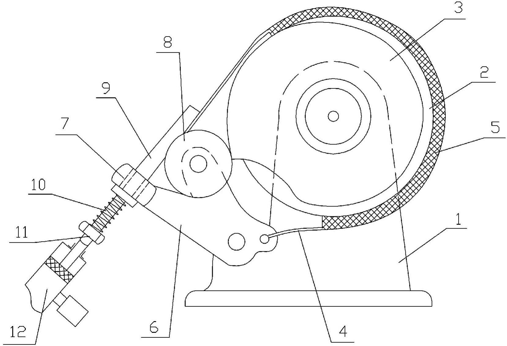
一种凸轮机构的带式制动器-爱企查
图片尺寸1656x1128
一种泥石流排导槽的制作方法
图片尺寸443x322
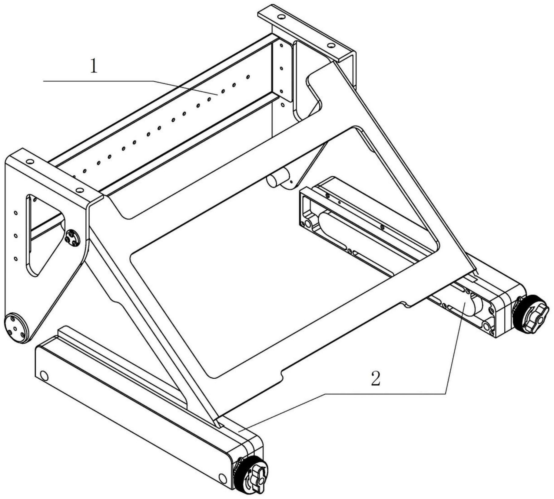
本发明公开了一种多级可调悬挂机构,包括悬挂支架和滑轨导槽架,其中
图片尺寸1829x1650
开关主体左,右两侧的导槽槽口上方设有具斜挡面的定位块,套装垫片和止
图片尺寸5824x4053
分享:冷轧切边剪薄带钢起筋控制策略研究
图片尺寸962x568