封箱机结构

cn213355037u_一种自动封箱机
图片尺寸1963x1548
一种数控侧封箱机的封箱机构的制作方法
图片尺寸967x1000
一种数控侧封箱机
图片尺寸2192x2145
自动封箱机结构图
图片尺寸750x715
一种新型封箱机的制作方法
图片尺寸916x1000
一种自动封箱机的制作方法
图片尺寸1000x790
全自动折盖封箱打包机
图片尺寸750x552
一种打钉封箱机-爱企查
图片尺寸1544x1555
封箱胶带制作工艺 胶带封箱机原理结构图 封箱胶带加工技术专利
图片尺寸512x512
自动封箱机的制作方法
图片尺寸1000x901
6050型胶带封箱机
图片尺寸790x1217
一种数控侧封箱机的制作方法
图片尺寸1000x978
cn206502062u_一种自动折盖封箱机有效
图片尺寸1000x890
活动价格封箱机 纸箱封箱机 6050型胶带封箱机 调速封箱机
图片尺寸750x750
摘要附图摘要本实用新型公开了一种便于操作的封箱机,其结构包括导向
图片尺寸291x325
全自动封箱机设计
图片尺寸817x526
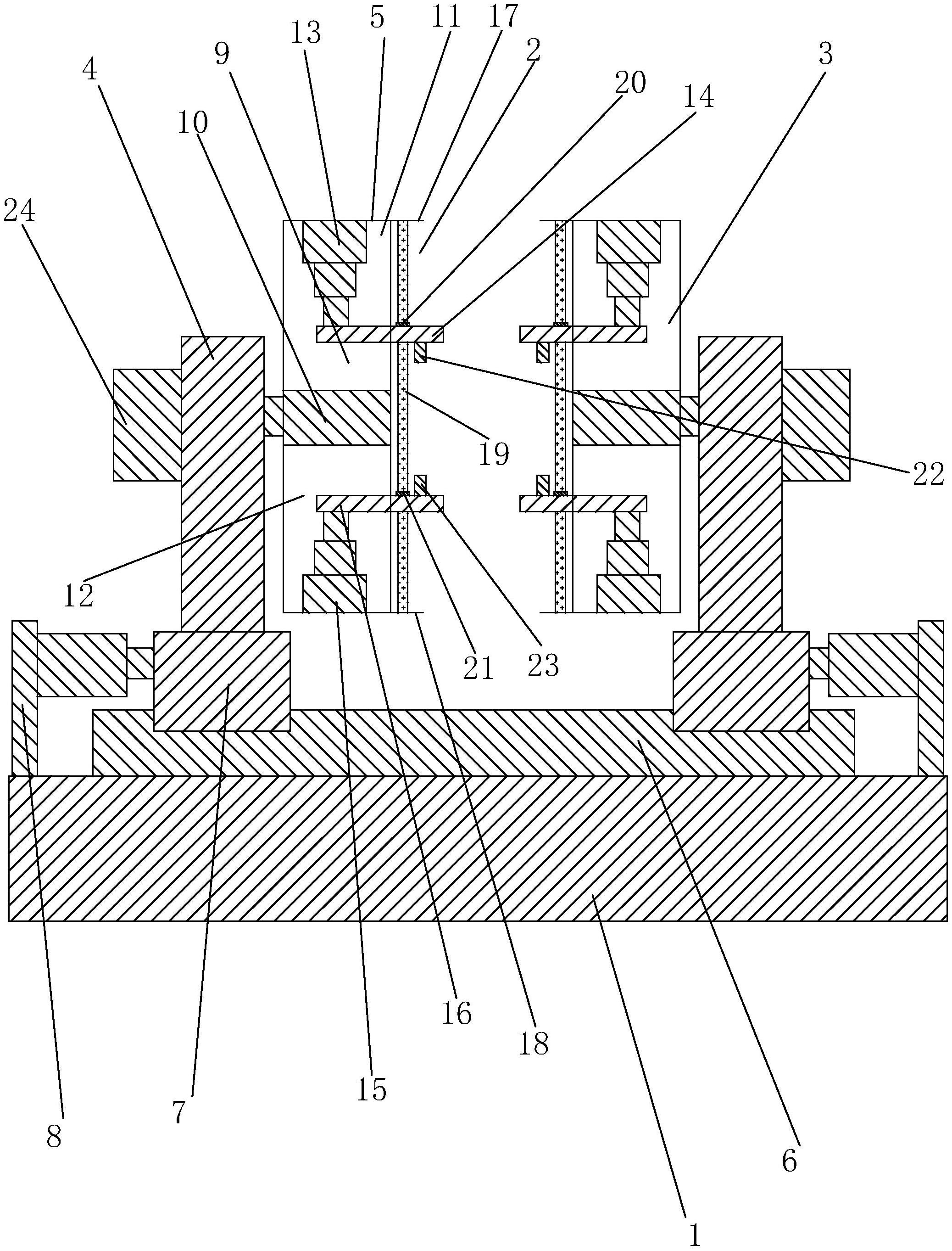
封箱机的调整装置,包括工作台,所述工作台上设有结构对称设置的左调节
图片尺寸2075x2725
cn110654590a_一种封箱机在审
图片尺寸1000x924
快递纸箱封箱机
图片尺寸639x551
一种封箱机制造技术
图片尺寸1000x815