封边机安装图

8090木机人联盟 #封边机朱工#朱工永不磕板#朱工激光封 - 抖音
图片尺寸710x564
如何鉴别一台封边机的好坏
图片尺寸867x517
塑料袋封边机器_自动薄膜封口机产品概述
图片尺寸819x559
封边机结构,参数及其封边操作介绍
图片尺寸662x447
定做 木工封边机全自动手提式生态板免漆板家具手动木板封边机家用
图片尺寸750x902
8090木机人联盟 #封边机朱工#朱工永不磕板#朱工激光封 - 抖音
图片尺寸720x1036
全自动高速封边机hd761
图片尺寸1500x892
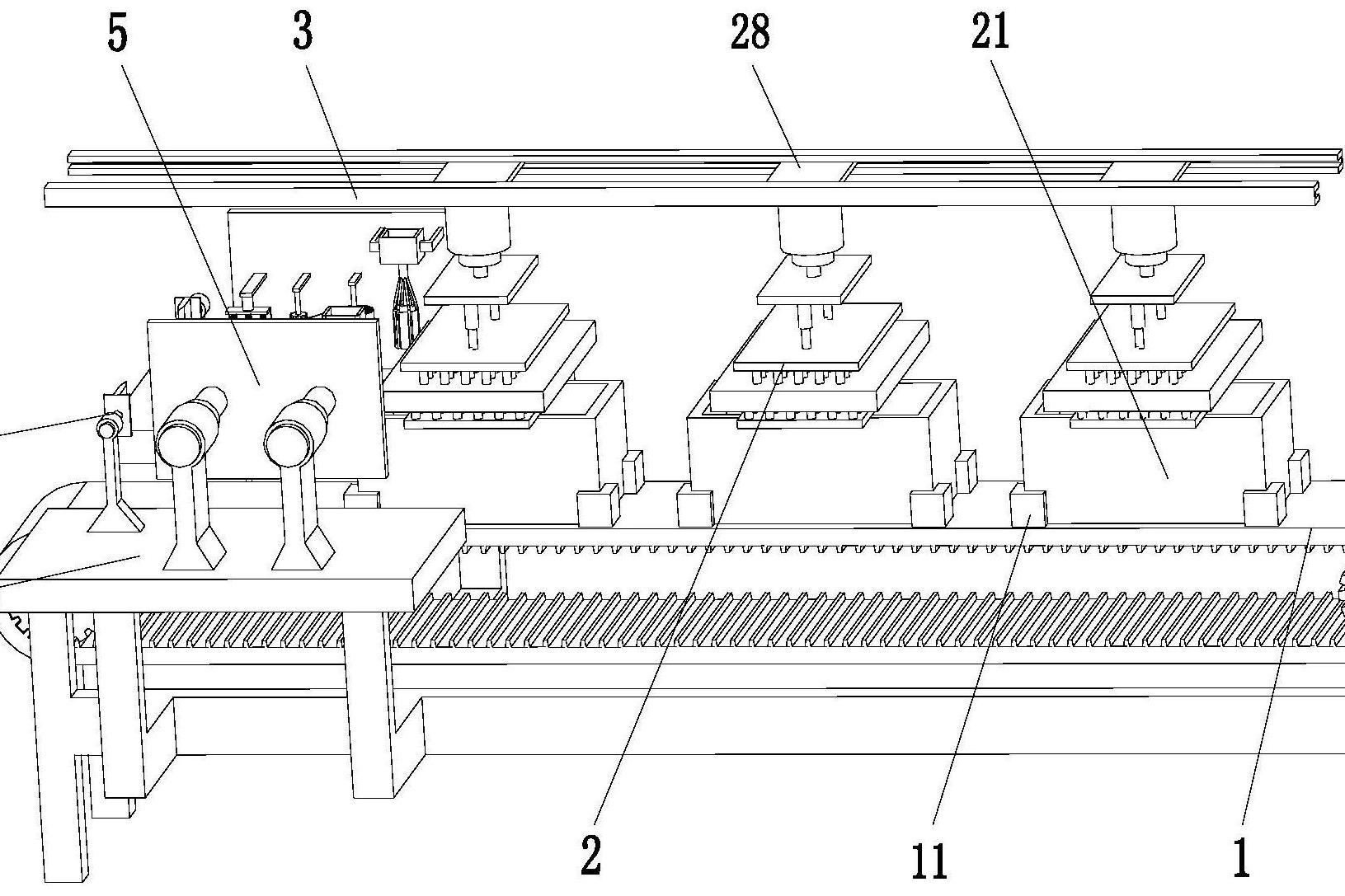
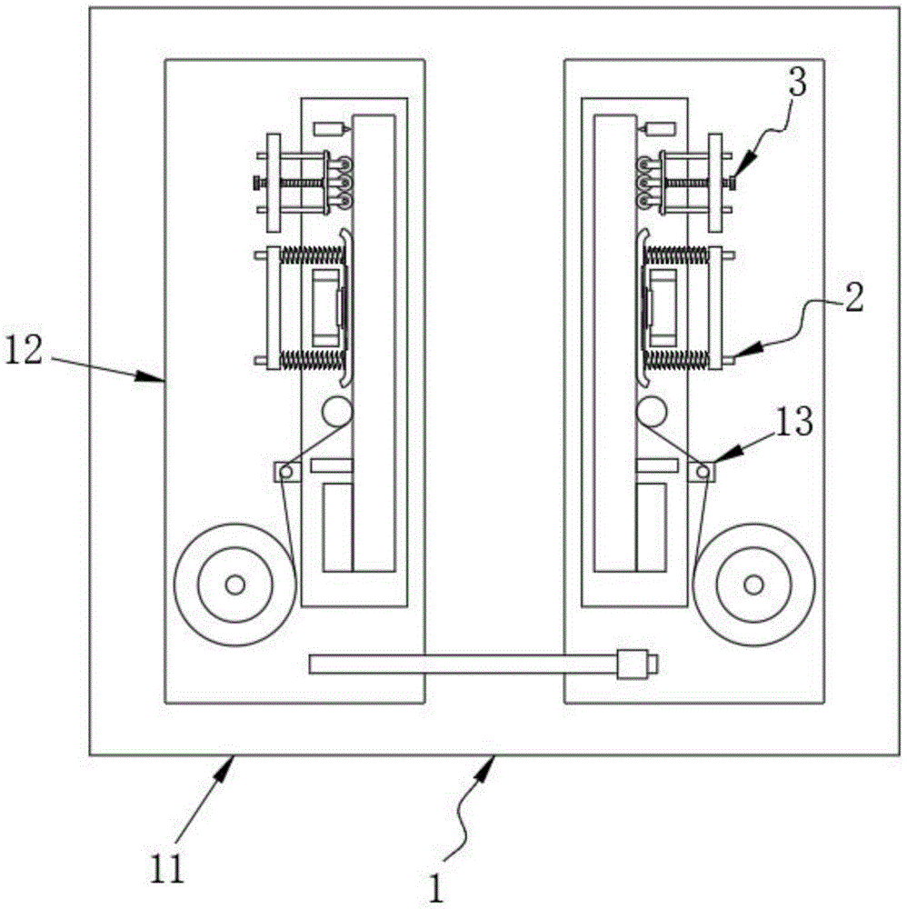
cn213005791u_一种用于封边机的双轨快速齐头机构
图片尺寸1801x1610
木工机械广东款热转印木门封边机烫印美缝封边机设备 支持定制厂家
图片尺寸860x860
大跨距双端封边机
图片尺寸1000x571
一种用于木板制作的新型封边机的制作方法
图片尺寸1000x389
封边机结构培训资料
图片尺寸1080x810
封边机结构培训资料
图片尺寸1080x810
一种胶合板制造自动化封边机
图片尺寸2014x1087
全自动热转印封边机的制作方法
图片尺寸1000x599
最新升级款n95封边机不含电气
图片尺寸704x717
封边机那个地方是调胶量的 - 2020年最新商品信息聚合专区 - 百度爱
图片尺寸3024x3024
cn212602430u_一种新型全自动高速封边机有效
图片尺寸998x1000
一种胶合板制造自动化封边机
图片尺寸1631x1087
触摸屏一键切换不同规格的封边带,小仿形轮机构安装有直线导轨,精准
图片尺寸1280x426