小发明图纸

双语学子的防疫小发明循环呼吸防护头盔
图片尺寸800x569
"小发明"彰显"大智慧" ,正骨室护理团队创新发明获得专利
图片尺寸960x720
科技小发明
图片尺寸1439x1080
"小发明"彰显"大智慧" ,正骨室护理团队创新发明获得专利
图片尺寸960x720
本发明涉及车辆工程,具体涉及一种电动自行车,该电动自行车的续航里程
图片尺寸945x636
一种多功能叉勺刮皮器制造技术
图片尺寸1000x971
图纸.png
图片尺寸706x526
cn207879892u_一种有利于散热的轻量化钟形壳有效
图片尺寸1678x1482
一种节水节能装置制造方法及图纸,节水装置小发明专利_技高网
图片尺寸1000x873
4个护士小发明,为你的护理工作帮大忙,总有一个你能用得上
图片尺寸631x797
一种依靠人力驱动的小船
图片尺寸1863x974
简单小发明在脸盆里航行的船
图片尺寸520x282
一种多功能led台灯
图片尺寸1000x783
cn206743891u_一种割草机有效
图片尺寸1000x637
一种可折叠的儿童三轮车 - cn201621443891.
图片尺寸1000x814
休闲运动玩具娱乐用品的装置及其制品制造技术
图片尺寸599x1000
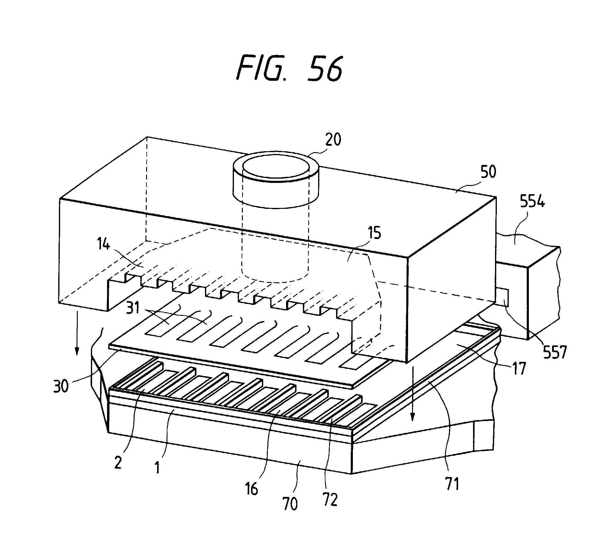
tête déjection de liquide, cartouche utilisant
图片尺寸2000x1791
一种小学生用防近视台灯的制作方法
图片尺寸950x1000
cn107261519a_一种以重力势能为动力的行走轨迹近"8"字型的无碳小车在
图片尺寸990x1000
食品多功能搅拌机制造技术
图片尺寸1000x922