展示盒结构

out of the box 展示结构包装-专业盒型及技术文献收集-中山火炬职业
图片尺寸1600x1200
定制挂钩孔开窗彩盒数据线包装盒开窗纸盒儿童内裤彩盒折叠盒印刷鑫
图片尺寸750x911
超市零食纸质展示盒化妆品陈列盒瓦楞展示盒纸货架定制pdq展示盒
图片尺寸790x912
一种香烟展示盒-爱企查
图片尺寸1360x1328
盒子结构说明
图片尺寸1020x809
超详细:两组图解天地盖包装盒结构
图片尺寸772x902
盒子结构图展示
图片尺寸750x1116
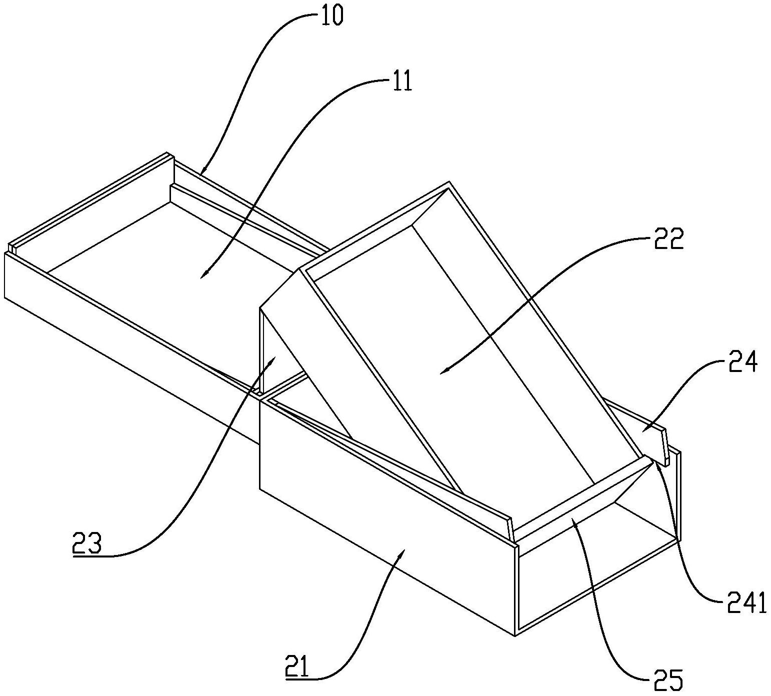
一种翻盖推拉展示盒结构
图片尺寸1542x1392
定制榫卯结构红枫木玻璃罩工艺品观音佛像透明防尘罩子摆件展示盒【15
图片尺寸800x800
彩盒结构展开图
图片尺寸1280x864
分享七十多种包装盒展开图你值得收藏纸盒结构大解析
图片尺寸720x960
印刷厂家包装盒定制上下盖礼品盒茶叶包装盒书形盒调味茶白卡纸盒
图片尺寸642x385
一种可随启闭升降展示盒的制作方法
图片尺寸444x377
一种滑动翻转展示盒结构-爱企查
图片尺寸1304x1160
市面上包装彩盒结构造型你见过哪些
图片尺寸750x491
常见纸盒包装结构大全
图片尺寸500x585
out of the box 展示结构包装-专业盒型及技术文献收集-中山火炬职业
图片尺寸1600x1200
out of the box 展示结构包装-专业盒型及技术文献收集-中山火炬职业
图片尺寸1600x1200
分享七十多种包装盒展开图你值得收藏纸盒结构大解析
图片尺寸720x964
一组国外纸盒包装结构展开图
图片尺寸564x833