履带机构简图

一种履带行走机构的制造方法与工艺
图片尺寸1000x405
一种履带行走机构的制作方法
图片尺寸1000x406
履带式机器人的机构特点
图片尺寸1787x1550
一种可调整履带行走机构及拖拉机的制作方法
图片尺寸1000x558
一种具有姿态调整机构的关节履带的制作方法
图片尺寸1000x916
一种新型履带式移动平台的研制与试验
图片尺寸568x486
坦克式履带装配图
图片尺寸860x560
一种适用于不同管径的可调节履带式行走机构制造技术
图片尺寸1000x701
挖掘机履带的制作方法
图片尺寸1000x498
船形履带机构总成的制作方法
图片尺寸1000x346
履带装配图
图片尺寸810x560
双履带式全地形机器人行走机构制造技术
图片尺寸889x1000
一种履带行走装置的制作方法
图片尺寸488x1000
轮胎式/履带式起重机主要组成部分
图片尺寸699x329
cn201077479y_微耕机履带式行走装置失效
图片尺寸1809x1307
【qc525】履带式推土机设计.rar
图片尺寸2338x1653
cn201301179y_履带起重机自拆装装置有效
图片尺寸1815x2161
一种履带式行走装置,包括机体,履带机构和至少一对摆臂机构,履带机构
图片尺寸1000x548
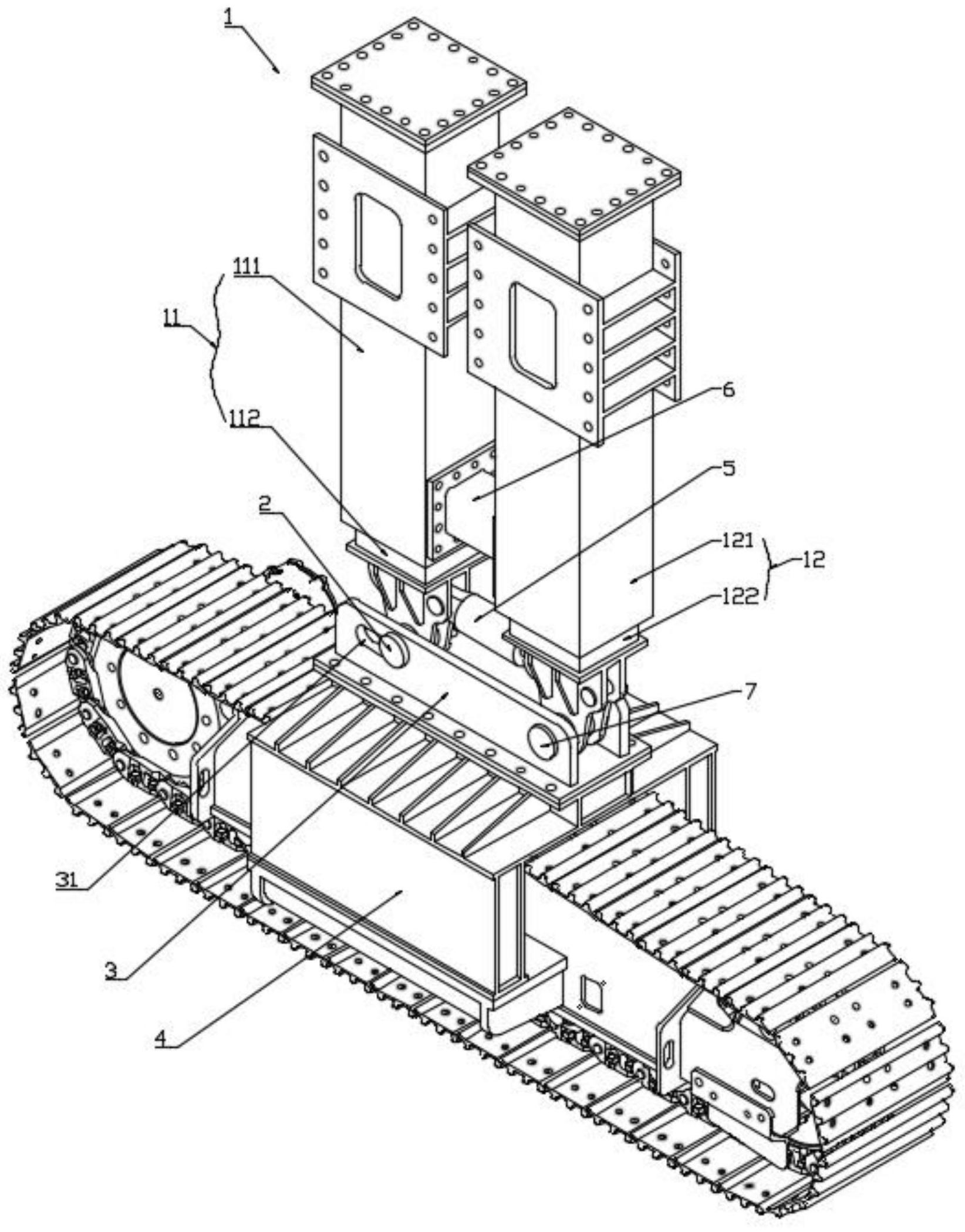
cn113152474a_一种采用双支腿结构的履带行走支腿机构
图片尺寸1644x2099
cn107310625a_一种用于履带式电磁吸附爬壁机器人的传动机构失效
图片尺寸1742x1151