嵌线机原理图

cn208158376u_一种高效卧式嵌线机有效
图片尺寸870x890
高分求~异步电动机嵌线接线图
图片尺寸348x335
图解三相电动机绕组嵌线·布线·接线-孙洋-电工技术
图片尺寸500x734
英威腾在全自动封边机方案说明
图片尺寸782x479
电机嵌线图
图片尺寸600x440
一种电机定子嵌线装置-爱企查
图片尺寸1814x884
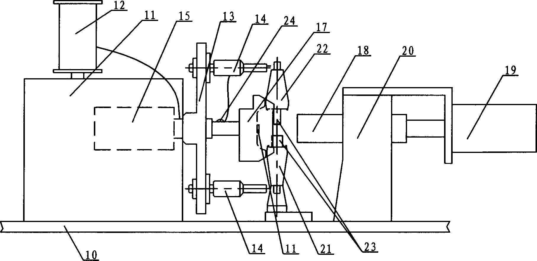
电机定子铁芯的拉模嵌线机
图片尺寸942x1000
一种绕线嵌线一体机的工作盘组件的制作方法与工艺
图片尺寸1000x986
一种嵌入式绕线机增加后夹式分度结构的制作方法
图片尺寸1000x863
嵌线机
图片尺寸220x184
展开全部 嵌线展开图: 向左转 向右转
图片尺寸450x330
实用中小型电机手册 整台电机在工地嵌线定子绕组交流耐电压试验的
图片尺寸296x388
展开全部 三相36槽4极遮极式嵌线图: 向左转 向右转
图片尺寸736x552
绕线机电路图
图片尺寸1188x918
24槽2级三相电机交叉式的绕组怎么嵌线 求步骤,有图就再好不过了
图片尺寸1280x960
嵌线展开图
图片尺寸600x450
交流发电机绕组正确嵌线与接线的方法
图片尺寸363x386
一种绞线机的集成控制器的制作方法
图片尺寸1000x853
交流发电机绕组正确嵌线与接线的方法
图片尺寸362x309
绕线嵌线一体机,电机定子生产线,全自动嵌线机,定子自动嵌线机,全自动
图片尺寸1114x696