工具箱设计图

一种工程造价用工具箱的制作方法
图片尺寸988x1000
工具包|工业/产品|其他工业/产品|思想猫箱包设计 - 原创作品 - 站酷
图片尺寸3000x2121
外观设计工具箱授权我要购买
图片尺寸952x752
车床工具箱改进设计
图片尺寸835x848
一种汽车维修教学用新型移动式工具箱
图片尺寸982x1000
本外观设计产品的名称:机电设备维修工具箱(一).2.
图片尺寸1374x1455
工具箱设计
图片尺寸820x822
工具箱的制作方法
图片尺寸963x1000
验收房工具检测箱设计师量房神器装修测量工具箱家用检测箱套装
图片尺寸800x800
一种工程造价专用工具箱的制作方法
图片尺寸814x1000
一种多功能汽车维修工具箱的制作方法
图片尺寸951x649
工具箱
图片尺寸1360x809
井融网络科技异简工业tersusrtk工具箱外观设计方案
图片尺寸10000x5625
井融异简tersusrtk工具箱外观设计方案
图片尺寸1280x687
工具箱手绘工具箱免费下载_高清png图片-90设计网
图片尺寸650x586
一种工程管理用组合工具箱的制作方法
图片尺寸1000x696
cn205075041u_组合式工具箱有效
图片尺寸1000x940
一种工程造价户外工具箱
图片尺寸1688x1650
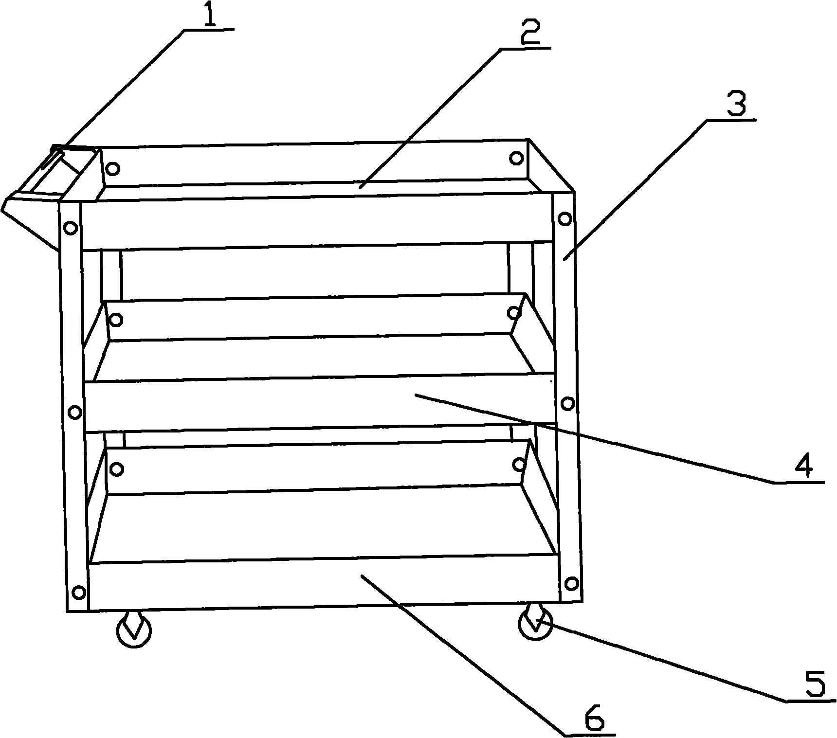
简易工具箱
图片尺寸1720x1517
服装鞋帽珠宝饰品制造的工具及其制品制作技术
图片尺寸1000x931