差速器零件图

对称式锥齿轮差速器零件分解图
图片尺寸2054x1200
求一份差速器装配图和零件图的cad图纸 急用啊谢谢
图片尺寸754x548
行驶更有乐趣限滑差速器功能原理介绍
图片尺寸500x375
a0差速器总装配图pdf
图片尺寸800x1133
差速器总装配图a0pdf
图片尺寸800x566
a1-行星差速器.dwg
图片尺寸1200x800
差速器工作原理
图片尺寸685x577
1差速器壳零件pdf
图片尺寸800x568
叉车配件之差速器的作用构造与工作原理
图片尺寸520x351
行星齿轮差速器
图片尺寸1043x793
汽车驱动桥差速器设计及零件加工工艺制定
图片尺寸820x593
十字轴式差速器结构设计
图片尺寸641x454
十八2普通圆锥齿轮差速器
图片尺寸456x455
圆柱齿轮差速器
图片尺寸1816x2281
滑动齿轮式差速器的动力学分析
图片尺寸1200x800
差速器的制作方法
图片尺寸837x1000
cn101871529a_牙嵌式自动防滑圆锥齿轮差速器失效
图片尺寸1595x1720
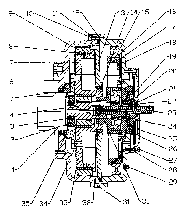
卧式螺旋沉降离心机差速器
图片尺寸624x709
关于差速器的一些配合问题
图片尺寸1235x794
差速器设计
图片尺寸800x1132