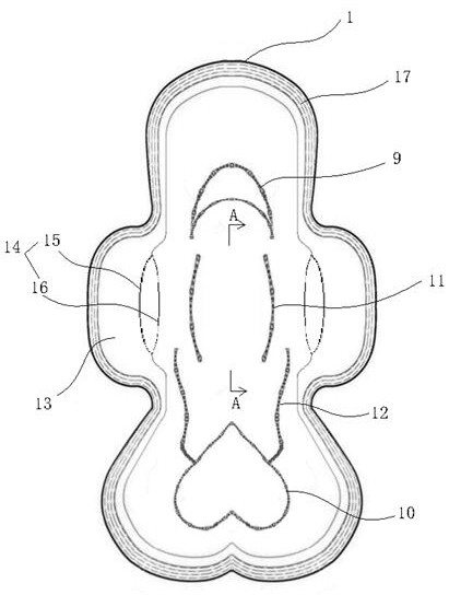
巾的结构

摘要附图摘要本实用新型公开了一种高吸水性卫生巾,其结构包括侧贴
图片尺寸1920x2063
璞实有机棉卫生巾99可分解包邮湖北宜昌
图片尺寸730x1027
部分卫生巾的特殊结构
图片尺寸450x315
卫生巾那点事——守护甜心
图片尺寸1280x1280
俏妃撕卫生巾事件引发关注女性健康和权益再上热搜
图片尺寸500x380
卫生巾
图片尺寸1000x721
八层结构,健康,安全,舒适,卫生,环保.
图片尺寸748x627
cn110236796a_侧漏防护型卫生巾在审
图片尺寸664x1000
x一种360度全包覆女性卫生巾-爱企查
图片尺寸411x544
卫生巾相关结构和材料
图片尺寸790x784
不能说的秘密 — 我们离卫生巾自由还有多远?
图片尺寸600x800
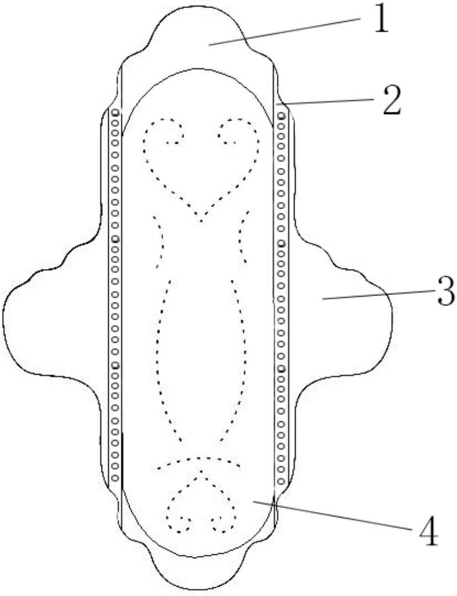
一种卫生巾
图片尺寸931x1214
明制唐巾结构研究及推测性复原
图片尺寸600x881
cn107550643a_一种卫生巾在审
图片尺寸1000x832
一种多层抑菌型棉柔巾结构
图片尺寸1816x1154
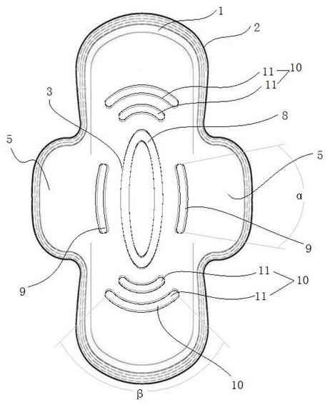
卫生巾两侧设有护翼,护翼背面设有长方形粘接处,结构简单,设计合理
图片尺寸462x567
新品yaboo艾の棉系列卫生巾给私处最极致の温暖
图片尺寸1080x754
初次见面卫生巾结构解析初次见面卫生巾的芯体为全芯体结构,并且有着
图片尺寸640x408
一种防侧漏透气卫生巾制造技术
图片尺寸890x1000
一种具有抗菌消炎,止痛功效的卫生巾及其制作方法技术
图片尺寸798x1000