布水器结构图

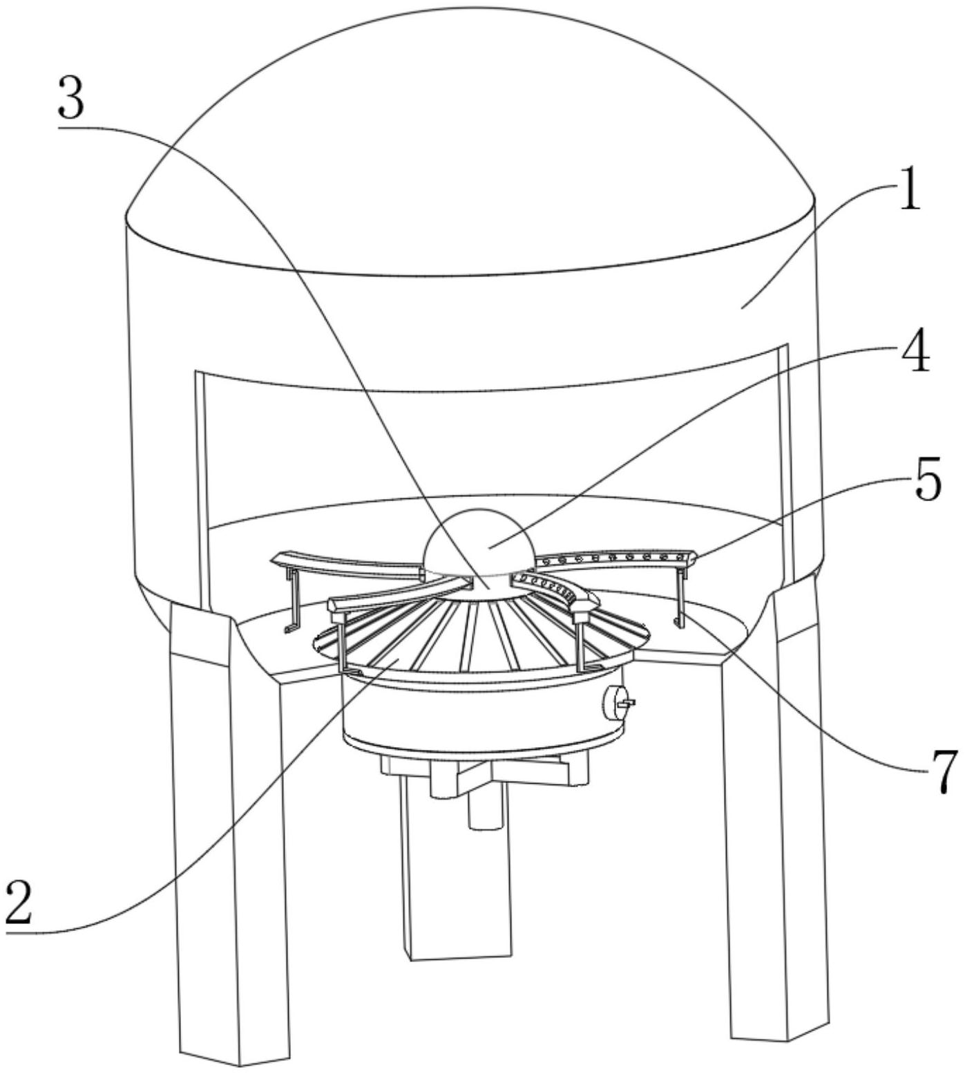
一种厌氧罐整体旋流布水器-爱企查
图片尺寸1397x1554
一种冷却塔用的雾化布水器的制作方法
图片尺寸374x444
公开了一种水箱底部布水结构,所述水箱底部设置有内循环入水布水器
图片尺寸1264x1111
高效脉冲布水器-爱企查
图片尺寸1359x1327
xbs型旋转布水器
图片尺寸550x400
八角型布水器的制作方法
图片尺寸1000x907
可调控布水器的制作方法
图片尺寸420x443
一种污水处理用厌氧布水器-爱企查
图片尺寸451x335
脉冲布水器制作图
图片尺寸577x413
影响蓄冷罐性能的关键部件是布水器,布水器结构设计是否合理可以极大
图片尺寸444x379
一种脉冲布水器的制作方法
图片尺寸688x1000
旋转布水器详图
图片尺寸460x337
器,包括筒体,布水主管,虹吸管;所述布水主管设置于筒体内为倒u型结构
图片尺寸975x1000
一种给水处理流化床下布水器的制作方法
图片尺寸279x443
高 效脉冲布水器 水特售后无忧 销 不锈钢钟罩式脉冲布水器
图片尺寸750x950
一种高效射流辅助脉冲布水器的制作方法
图片尺寸360x443
一种用于厌氧反应器的旋流布水装置的制作方法
图片尺寸407x443
背景技术:目前常见的脉冲布水器有多种结构方式,但其基本原理均是"
图片尺寸788x1000
一种水解酸化高效脉冲布水器
图片尺寸1488x1939
一种安装便捷的六角型布水器的制作方法
图片尺寸444x429