带式压滤机简图

带式压滤机
图片尺寸919x359
各种压滤机cad图纸,可编辑.厢式,带式,叠螺,板框污泥压滤 - 抖音
图片尺寸1440x2880
带式压滤机
图片尺寸548x368
带式压滤机结构
图片尺寸661x449
一种改进的带式压滤机-爱企查
图片尺寸6688x4242
带式压滤机
图片尺寸2651x1712
厂家制造带式压滤机 山西矿山泥浆脱水处理设备 碳钢防腐一体化
图片尺寸558x342
ztdy-gqd标准带式压滤机
图片尺寸3252x1345
dndy1500带式压滤机
图片尺寸1062x762
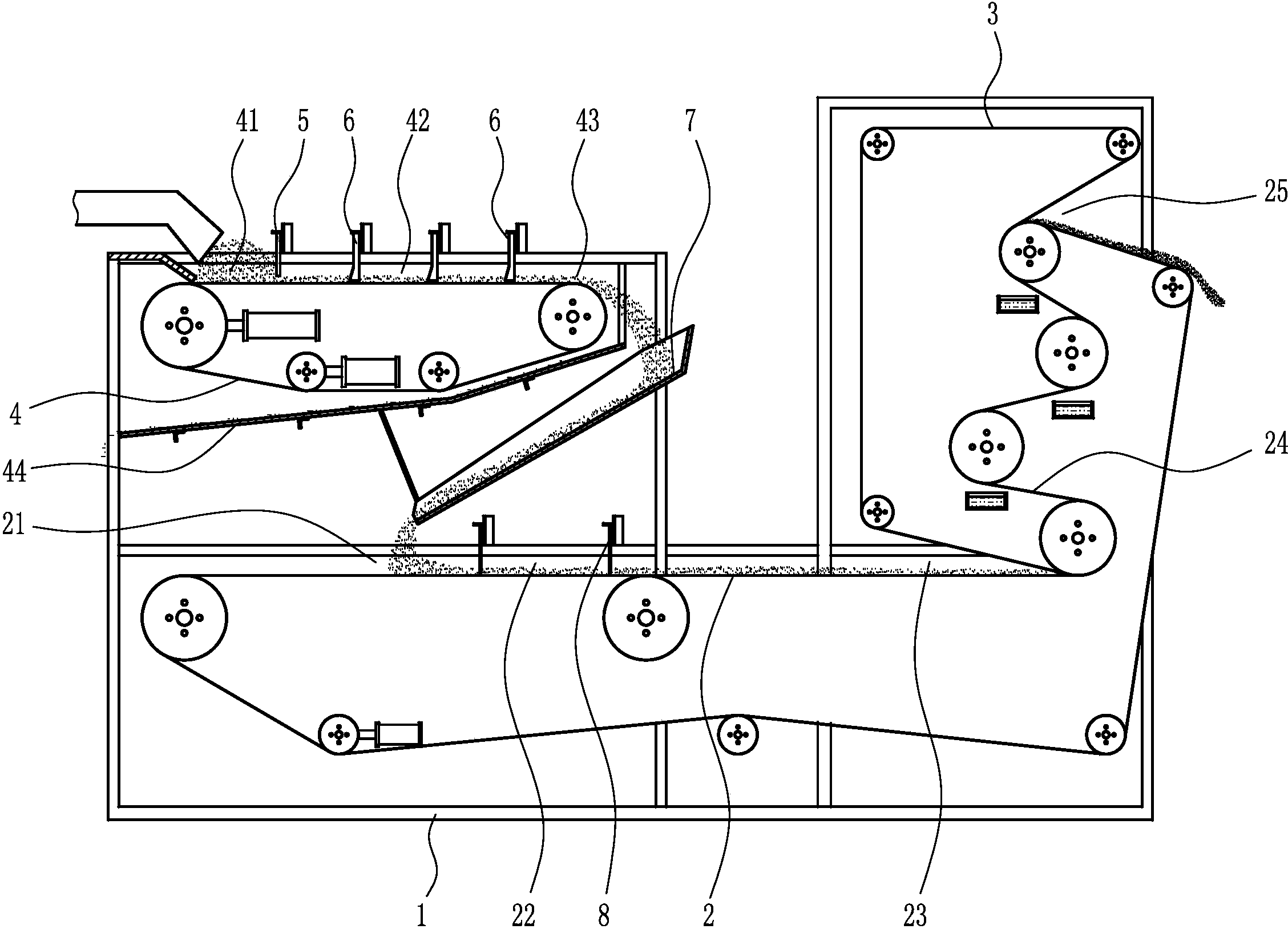
带式压滤机设计总图
图片尺寸859x1119
带式压滤机
图片尺寸795x460
环保带式污泥压滤机
图片尺寸544x326
1米带式压滤机
图片尺寸656x1268
带式过滤机_巩义科胜带式压滤机
图片尺寸1052x642
详情页-带式压滤机_02
图片尺寸1200x697
板框式压滤机结构图
图片尺寸504x480
带式真空过滤机
图片尺寸390x516
cn208436487u_高效重力脱水式带式压滤机有效
图片尺寸2257x1628
带式压滤机
图片尺寸562x424
jj6990-带式压滤机设计-机械机电-龙图网
图片尺寸2338x1653