带表卡规

德国克恩达(kenta)kt5-228-8 数显带表卡规(不含表)-京东
图片尺寸2730x1512
德国kroeplin古沃匹林指针式进口内带表卡规h2g40
图片尺寸784x784
德国kroeplin内卡规 带表外卡规 凹槽卡规 箔和金属厚度卡规 三点式
图片尺寸700x530
威量 带表卡规分带表内卡规和带表外卡规,带表内卡规规格 15-35x50
图片尺寸1080x1920
马尔mahr带表卡规marameter 840 fg齿轮节圆卡规齿轮分度圆卡规
图片尺寸790x790
d450s 外卡规 德国 kroeplingmbh 表盘式卡规 带表卡规使用方 - 哔哩
图片尺寸750x1111
insize英示2192系列带表外卡规
图片尺寸1500x1500
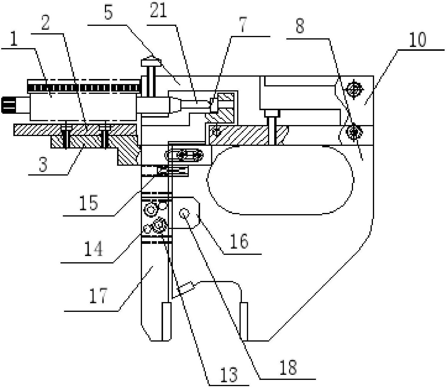
一种带表卡规-爱企查
图片尺寸1508x1303
mahrfederal840fg系列带表卡规
图片尺寸624x593
hmct哈量带表卡规15351把
图片尺寸600x600
带表卡规
图片尺寸500x400
德国马尔mahr带表卡规marameterf840fc陶瓷硬质合金测量面
图片尺寸750x750
日本三量带表内外卡规内外径测厚仪代表卡钳020mm高精度001
图片尺寸800x800
桂林杠杆卡规快速测量0-25-50-75-100mm桂量杠杆卡规外径带表测量
图片尺寸800x800
带表卡规
图片尺寸1400x1400
带表外卡规 0-10(青量)_广州市捷斯朗专用设备有限公司
图片尺寸450x300
大量程电子数显外卡规0150带表数显卡规内外卡规卡钳表127165m
图片尺寸704x704
mahr/马尔 公制带表内径卡规 838ti-4495584 40-60mm 不代为第三方
图片尺寸600x600
德国kroeplin进口指针式内带表卡规h220
图片尺寸673x377
公制带表外卡规 512-109
图片尺寸1000x1000