并条机原理图

hy31型并条机自调匀整系统原理分析
图片尺寸609x665
并条机
图片尺寸1000x592
fa311f型高速并条机电路图
图片尺寸1188x918
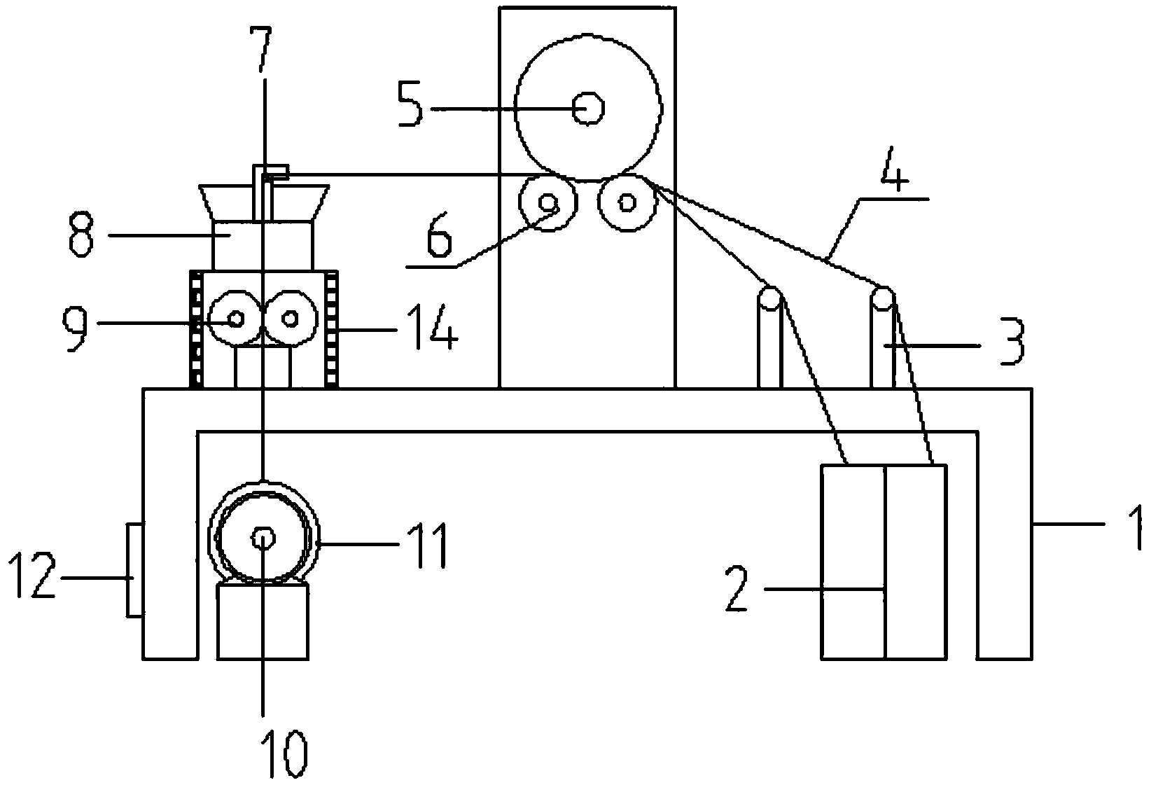
一种自调匀整并条机优化调整装置制造方法及图纸
图片尺寸1000x810
fa317并条机电路图
图片尺寸3578x2562
一种双眼输出高速并条机的制作方法
图片尺寸1000x779
cn106435871a_一种清洁型并条机失效
图片尺寸1000x662
高速并条机自调匀整控制系统研究
图片尺寸1753x882
并条机是纺纱工序中改善成纱质量,降低条干不匀率,减少纱疵,提高混和
图片尺寸494x261
并条fa306a电路图
图片尺寸1156x845
一种具有特殊性能的纤维制品生产中使用的并条机制造技术
图片尺寸566x275
jwf1312系列并条机为何能够霸占市场?这些特质是关键!
图片尺寸1000x411
fa319型并条机
图片尺寸526x337
cn102174722a_并条机喂入棉条厚度数字检测方法及其系统有效
图片尺寸1934x1034
台达产品在高速并条机的实际应用
图片尺寸425x355
一种提高成型质量的并条机
图片尺寸1944x829
一种棉纱加工用高强度并条机的制作方法
图片尺寸1000x841
一种具有撕断条功能的并条机的制作方法
图片尺寸1000x789
基于台达机电产品的并条机自调匀整控制系统设计
图片尺寸428x365
一种带有速度调节机构的并条机
图片尺寸1644x1121