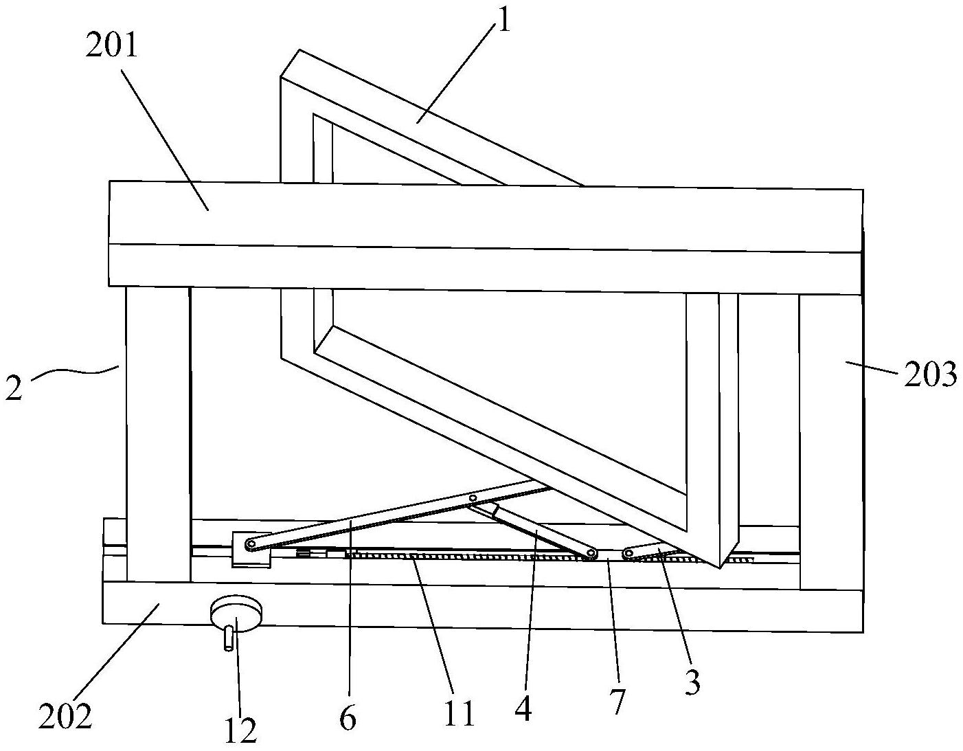
开窗机构简图

单自由度平面六杆开窗机构
图片尺寸977x552
一种推拉窗系统的制作方法
图片尺寸1000x953
商标logo
图片尺寸1875x1777![[0015]附图3为本实用新型一种开窗器电机,传动机构示意图](https://i.ecywang.com/upload/1/img1.baidu.com/it/u=825453617,1380691920&fm=253&fmt=auto&app=138&f=GIF?w=500&h=478)
[0015]附图3为本实用新型一种开窗器电机,传动机构示意图
图片尺寸1000x955
一种四边锁闭的平开窗结构
图片尺寸981x1000
一种用于开启关闭窗的手摇开窗器,其特点是,包括底座,上盖,传动机构
图片尺寸579x709
摘要附图摘要本实用新型公开了一种窗户开闭控制装置,包括驱动机构和
图片尺寸1402x1093
一种平开窗连杆机构的制作方法
图片尺寸1000x919
cn212201753u_一种内开外开一体窗结构有效
图片尺寸1802x1933
凯铭冠双链条电动开窗器大链条式开窗机消防天窗排烟换气天窗品牌
图片尺寸800x497
一种高承重易装配的链条开窗器的制作方法
图片尺寸444x382
一种带有关窗自动锁闭功能的平开窗的制作方法
图片尺寸392x443
一种手自一体开启锁紧开启角度自动控制的断桥铝门窗
图片尺寸1874x1860
一种建筑窗户的开窗机构的制作方法
图片尺寸748x1000
一种链条传动式电动开窗器的制作方法
图片尺寸1099x748
链式电动开窗器,又称链条式开窗器,链式开窗机,链条式开窗机,是依靠内
图片尺寸438x444
一种手摇式螺杆开窗器窗户的制作方法
图片尺寸873x1000
平开窗节点图二.jpg
图片尺寸760x608
一种侧弯链条式平开窗的制作方法
图片尺寸444x404
cn202500415u_一种快速开闭汽车车窗机构有效
图片尺寸764x1000