弧形辊结构原理

液压弯辊示意图
图片尺寸600x629
但因辊体具有特殊结构,使辊面能在固定的弧形芯轴上由织物拖动回转,见
图片尺寸518x595
一种高速宽幅纸机用新型弧形辊的制作方法
图片尺寸1000x382
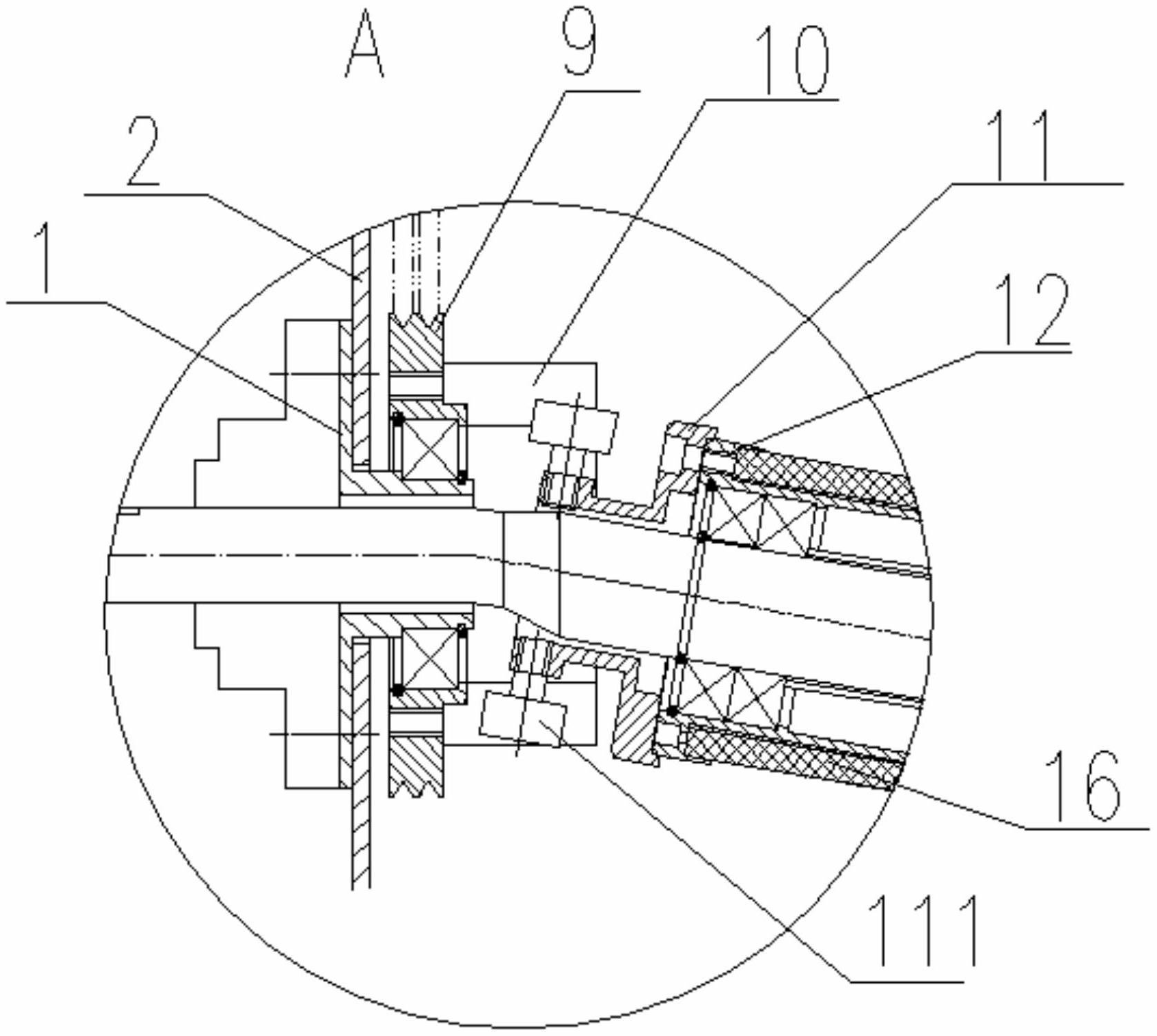
cn209323214u_一种可调速弯辊结构有效
图片尺寸1677x1502
弧形辊使用注意事项
图片尺寸679x297
弧形辊
图片尺寸2112x928
钢轧辊(可以在百度上搜图) 轧辊是轧钢厂轧钢机上的重要零件,利用一对
图片尺寸320x280
一种纺织用弯辊
图片尺寸1000x404
导带印花机用弧形张力辊组件-爱企查
图片尺寸1832x1120
弧形辊使用注意事项.pdf
图片尺寸800x1131
一种纺织用弯辊制造技术
图片尺寸1000x719
弧形辊《产品以通过质量管理体系认证,产品一律包用一年》
图片尺寸684x244
一种弧形辊扩幅纠偏装置制造方法及图纸
图片尺寸1000x838
弯辊技术
图片尺寸220x252
轧机工作辊弯辊结构的制作方法
图片尺寸1000x925
用于薄膜生产流水线的旋转加热辊的制作方法
图片尺寸1000x493
述安装架的横截面为矩形框状结构,且安装架两边外壁之间连接有印花辊
图片尺寸1565x897
弧形辊说明书
图片尺寸2442x1360
cn106670236b_板带轧机双重导向工作辊弯辊及平衡装置有效
图片尺寸1771x1456
富盛机械生产弧形辊,弯曲辊,香蕉辊,弓形辊,弯曲辊
图片尺寸500x228