弹射飞机图纸

弹射飞机模型图
图片尺寸920x651
一种防撞可拆卸弹射小飞机的制作方法
图片尺寸1000x526
一种双缸侧开口内燃式航母飞机弹射器
图片尺寸1563x1066
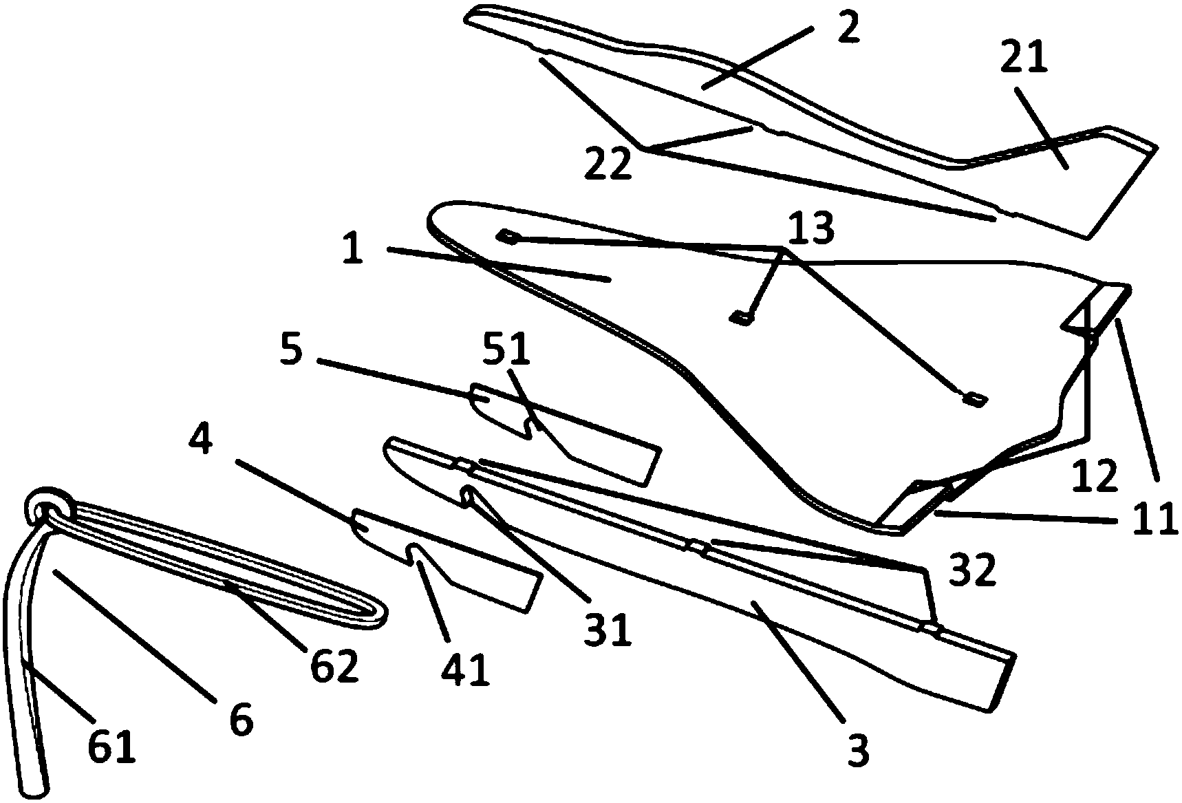
一种弹射模型飞机
图片尺寸1718x1167
弹射自展翼航模飞机
图片尺寸800x584
德国黑科技,木制机身弹射座椅,he162"火蜥蜴"喷气式战机
图片尺寸580x459
科技小制作-制作微型弹射飞机 - 5068儿童网
图片尺寸316x256
航空母舰舰载飞机蒸汽动力弹射器
图片尺寸2818x807
航母上的飞机是如何被弹射出去的?三维动画讲述舰载机弹射器原理
图片尺寸1280x720
一种弹射类像真飞机模型制造技术,朱雀弹射飞机模型图纸专利_技高网
图片尺寸1000x718
气动轨道弹射飞行器发射系统
图片尺寸2697x1512
飞机图纸
图片尺寸808x1093
飞机图纸
图片尺寸1239x1506
大型弹射飞机怎么制作,用2米长的皮筋拉,求图纸和过程高手解答!
图片尺寸477x417
弹射器
图片尺寸250x121
弹射飞机模型 - 玩具公仔图纸 - 沐风网
图片尺寸820x587
这幅模型飞机图纸怎么样?
图片尺寸500x356
贝木惠(beimuhui)儿童玩具手掷手抛飞机带灯滑翔泡沫飞机弹射飞机航模
图片尺寸800x800
云燕号轻木弹射滑翔机创智客橡筋圈p1b0航模赛手抛航模飞机模型
图片尺寸800x800
无人弹射飞机设计模型 - solidworks军工用品模型下载 - 沐风图纸
图片尺寸820x513