弹簧回位装置

回位弹簧批发
图片尺寸1024x1024
11n08092东风eq1118gaeq2102军车越野车配件油门弹簧回位弹簧11n08092
图片尺寸750x750
适用昌河福瑞达 北斗星 爱迪尔 挂档机构回位弹簧 汽车挂档配件
图片尺寸2000x1500
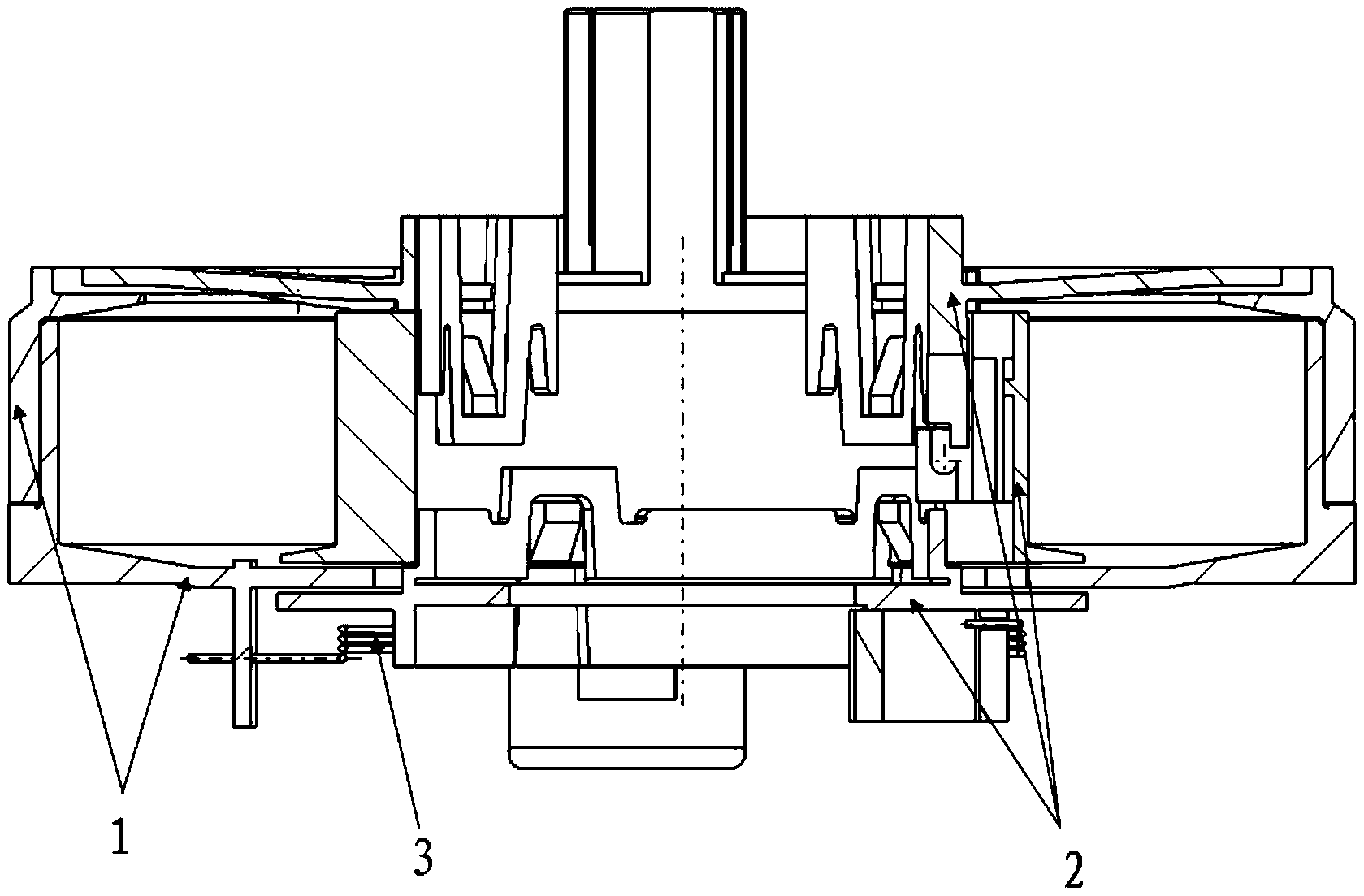
一种用于时钟弹簧的自动回位装置
图片尺寸1679x1103
东风eq1118gaeq2102eq2102neq2102g军车越野车油门回位弹簧油门回位
图片尺寸750x750
质量保障 65mn镀锌压缩圆柱螺旋回位差速器圆簧 阻尼减震器弹簧
图片尺寸790x1324
适用于哈弗h6离合器回位簧离合踏板回位弹簧离合器复位弹簧长城配件
图片尺寸790x438
包邮3 4t卧式千斤顶弹簧 回位器 3吨卧顶弹簧 压杆回位弹簧配件
图片尺寸700x525
弹簧机构_ 41 (弹簧加力装置)
图片尺寸474x480
闭门器家用简易关门器弹簧缓冲装置回位回弹合页自动关门神器黑色
图片尺寸800x800
五十铃庆铃皮卡竞技者江铃宝典陆风刹车鼓回位弹簧其他
图片尺寸800x800
适用五征农用三轮车刹车踏板回位簧 小四轮拖拉机离合踏板弹簧 五征
图片尺寸750x750
汽车后排座椅靠背回位弹簧安装结构制造技术
图片尺寸845x1000
半电动堆高车配件堆垛液压电瓶叉车转向大手柄复位弹簧回位扭簧
图片尺寸800x800
机用回复弹簧推杆装置
图片尺寸435x681
弹簧拉伸装置
图片尺寸629x543
五菱之光修理包荣光换挡兴旺簧 挂档杆弹簧回位 换挡簧 五菱配件
图片尺寸300x300
弹簧门用90度定位带回位弹力铰链自动回位复位合页自动回弹功能型_双
图片尺寸906x589
回位弹簧自动上料机的t型出料装置
图片尺寸506x347
厂家直销扭簧 沙发回位作用双扭簧 弹簧钢非标汽车双扭簧
图片尺寸750x660