往复式压缩机简图

所有分类 工程科技 建筑/土木 往复压缩机ppt 加氢裂化 往复式压缩机
图片尺寸1080x810
往复式压缩机
图片尺寸1578x1313
cn1138142a_往复活塞式压缩机失效
图片尺寸2000x1488
1.1往复式压缩机
图片尺寸654x323
制冷设备知识第三讲:往复式制冷压缩机(一)
图片尺寸298x335
往复式压缩机简介ppt
图片尺寸1080x810
往复式压缩机
图片尺寸1788x1482
往复式压缩机
图片尺寸1716x736
med无油往复式空气压缩机设计2d图机械cad素材
图片尺寸1490x884
往复式压缩机ppt
图片尺寸1080x810![[资源帖] 往复式压缩机图片专题](https://i.ecywang.com/upload/1/img2.baidu.com/it/u=1293542636,784606315&fm=253&fmt=auto&app=138&f=GIF?w=667&h=500)
[资源帖] 往复式压缩机图片专题
图片尺寸960x720
往复式压缩机故障分析和管道振动ppt
图片尺寸1080x810
设备健康管理悬丝诊脉之石化行业往复式压缩机
图片尺寸869x524
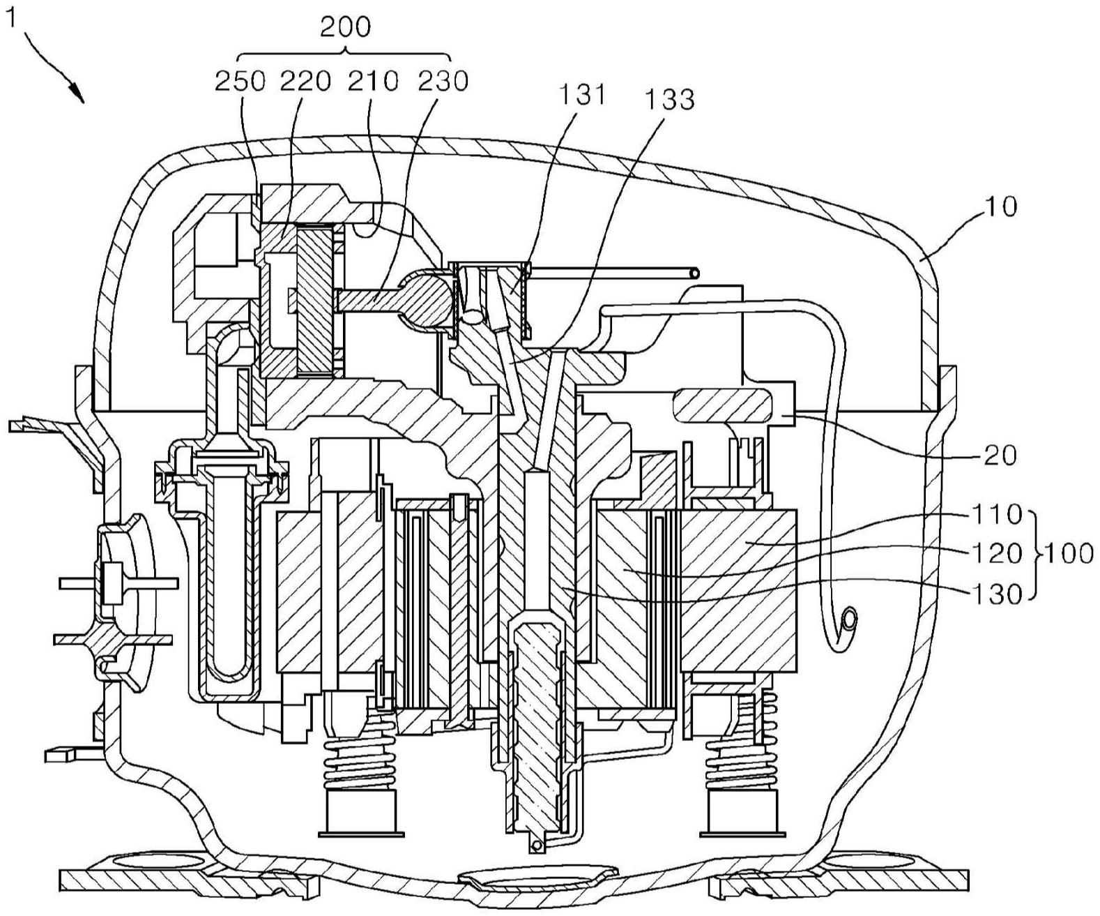
cn1197162a_往复式压缩机失效
图片尺寸946x723
往复压缩机培训ppt
图片尺寸1080x810
往复式压缩机安全维修规程及注意事项
图片尺寸800x600
什么是往复活塞压缩机?_工程-考高分网
图片尺寸550x322
cn100432430c_往复式压缩机有效
图片尺寸2632x1836
往复式压缩机ppt讲义
图片尺寸1080x810
往复式压缩机
图片尺寸1679x2305