往复装置

凸轮摆臂往复运动装置
图片尺寸300x225
线性往复运动机构装置图纸合集的封面图
图片尺寸285x381
前进档往复疲劳试验装置供应商
图片尺寸294x562
往复式双轨浇铸装置-爱企查
图片尺寸2592x1614
大型往复式压缩机的应用大型往复式压缩机是那里生产的,用在什么装置?
图片尺寸3264x2448
一种用于高精度往复运动的大理石模组装置
图片尺寸1674x1096
一种铝扣板生产用往复式摆动喷涂装置
图片尺寸1962x2790
往复振动装置
图片尺寸820x508
一种喷涂机的喷枪往复移动装置
图片尺寸1000x865
一种自动循环往复式推料装置
图片尺寸1931x1731
往复丝杆应用范围包括:机器人,数控机床,传送装置,飞机的零部件(如
图片尺寸884x371
一种往复送料装置
图片尺寸2680x1659
移动往复式救生装置-爱企查
图片尺寸561x596
一种空调塑料件用的往复滑动式修边装置-爱企查
图片尺寸1740x1411
一种往复式卸料装置
图片尺寸1849x1229
凸轮连杆往复运动装置
图片尺寸300x225
cn201914740u_一种往复式纺织面料打卷装置有效
图片尺寸2967x1794
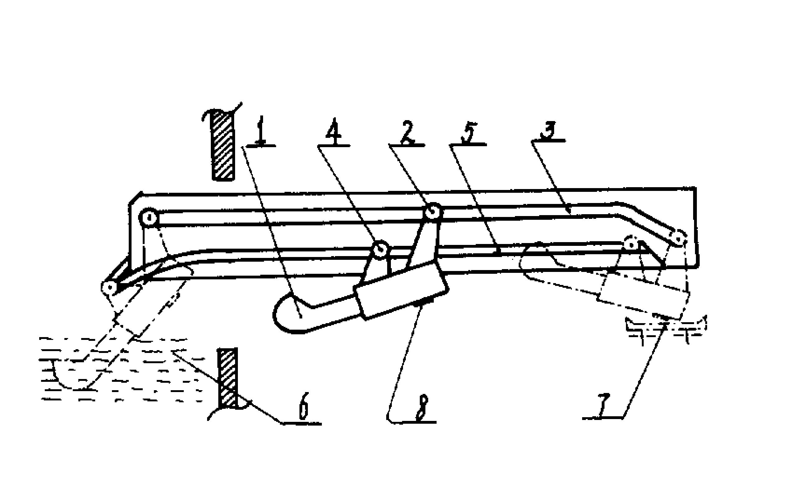
cn101666703b_海洋结构物强迫往复运动装置有效
图片尺寸1661x1073
往复式横向撞击装置
图片尺寸300x225
cn201211398y_移动往复式救生装置失效
图片尺寸1724x1672