徐志强天眼查

料理机的主机及料理机专利_专利申请于2020-02-28_专利查询 - 天眼查
图片尺寸1779x969
01)i 发明名称 一种注塑机料斗烘箱加热装置 发明人 徐志强 申请人
图片尺寸616x875
包装盒(板扎卫生纸1903)专利_专利申请于2019-06-26_专利查询 - 天眼
图片尺寸1086x679
具有模块式动力系统和轮子的玩具飞机专利_专利查询 - 天眼查
图片尺寸2357x1535
徐志强专利申请_专利号cn201320127535.6_专利信息查询-天眼查
图片尺寸589x1000
一种在线式应急灯专利_专利申请于2006-09-14_专利查询 - 天眼查
图片尺寸1964x761
油气分离装置和包含该油气分离装置的空调系统专利_专利查询 - 天眼查
图片尺寸888x1000
一种驾驶式路面抛丸机用扬尘自收集清理装置专利_专利查询 - 天眼查
图片尺寸1000x680
与框支撑玻璃幕墙的玻璃交汇的隔墙收口结构专利_专利查询 - 天眼查
图片尺寸1000x953
多个封管头的封管机专利_专利申请于2020-10-13_专利查询 - 天眼查
图片尺寸1590x1084
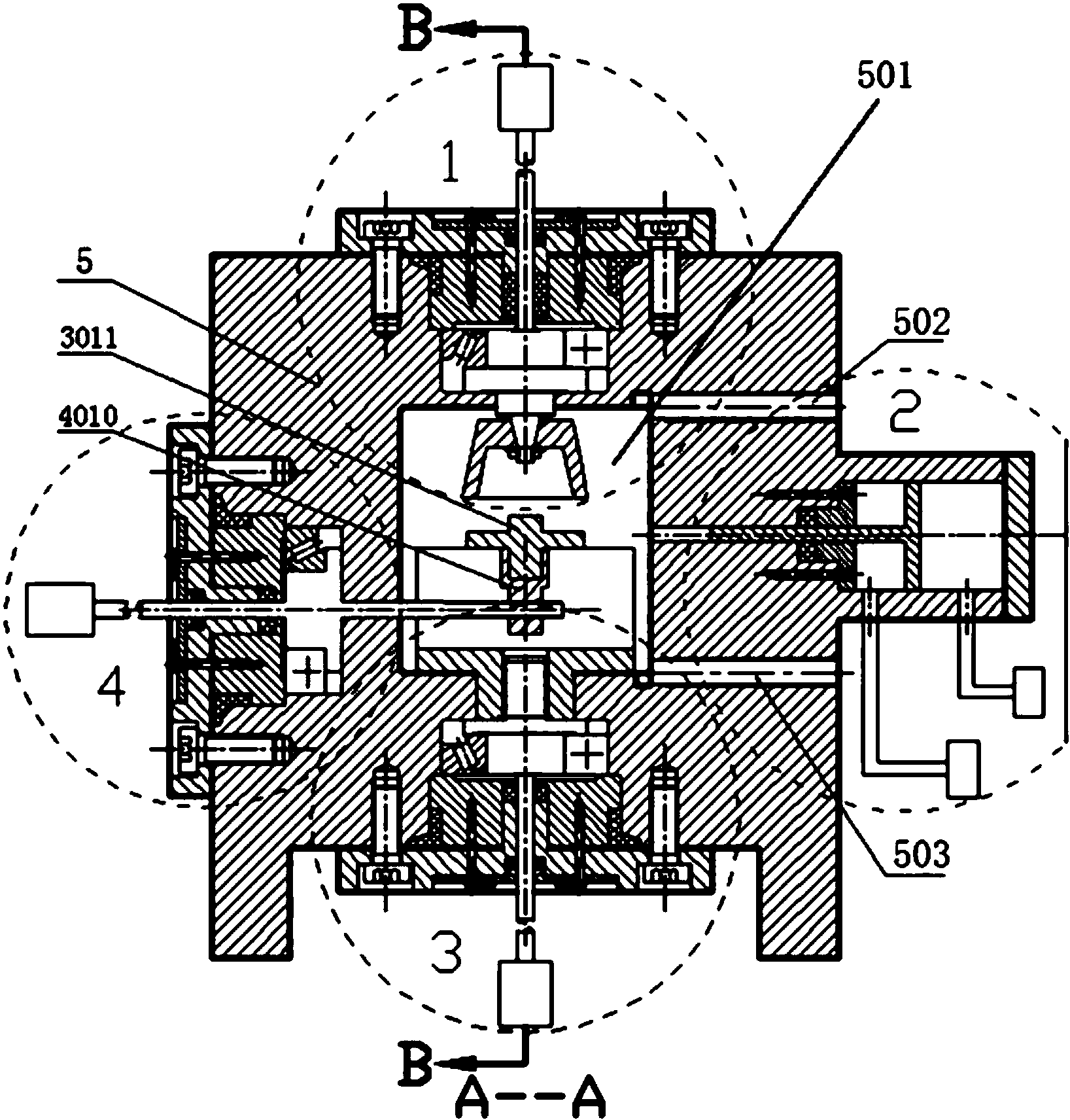
一种高静液压磨削设备及磨削方法专利_专利查询_天眼查
图片尺寸1636x1712
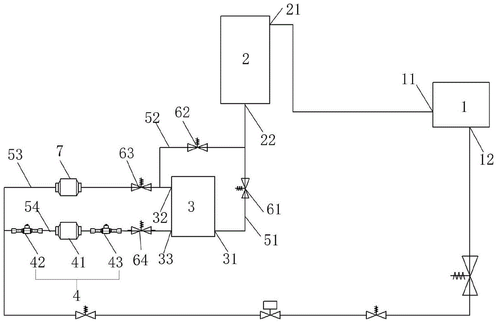
机组及其杂质去除方法专利_专利申请于2020-02-28_专利查询 - 天眼查
图片尺寸1000x651
启动两个储存盘的u盘专利_专利申请于undefined_专利查询 - 天眼查
图片尺寸800x452
盘根盒防喷压盖-天眼查
图片尺寸946x1000
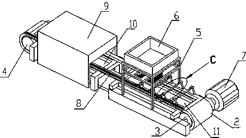
攻牙机自动选料结构专利_专利申请于undefined_专利查询 - 天眼查
图片尺寸1000x899
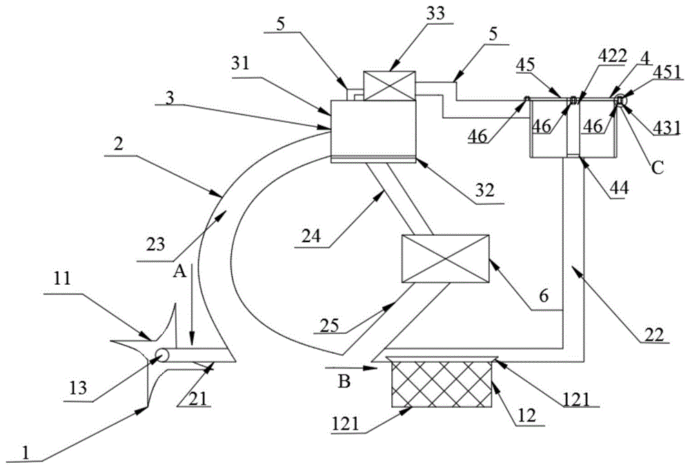
一种酱肉烘烤系统专利_专利申请于undefined_专利查询 - 天眼查
图片尺寸484x271
一种斜插式滤筒除尘器专利_专利申请于2014-05-14_专利查询 - 天眼查
图片尺寸920x1000
一种压力传感器组件专利_专利申请于2020-10-21_专利查询 - 天眼查
图片尺寸1716x838
全折叠超轻液压自行车专利_专利申请于2005-12-31_专利查询 - 天眼查
图片尺寸800x694
专利 徐志强 专利详情 申请公布号 cn208200194u 申请号 cn
图片尺寸1600x1349