快速固定装置

快速固定夹紧装置模型图
图片尺寸300x225
光轴固定环带固定把手型快速锁紧光轴固定环快速固定行程固定环
图片尺寸761x574
快速旋转固定夹紧装置
图片尺寸820x540
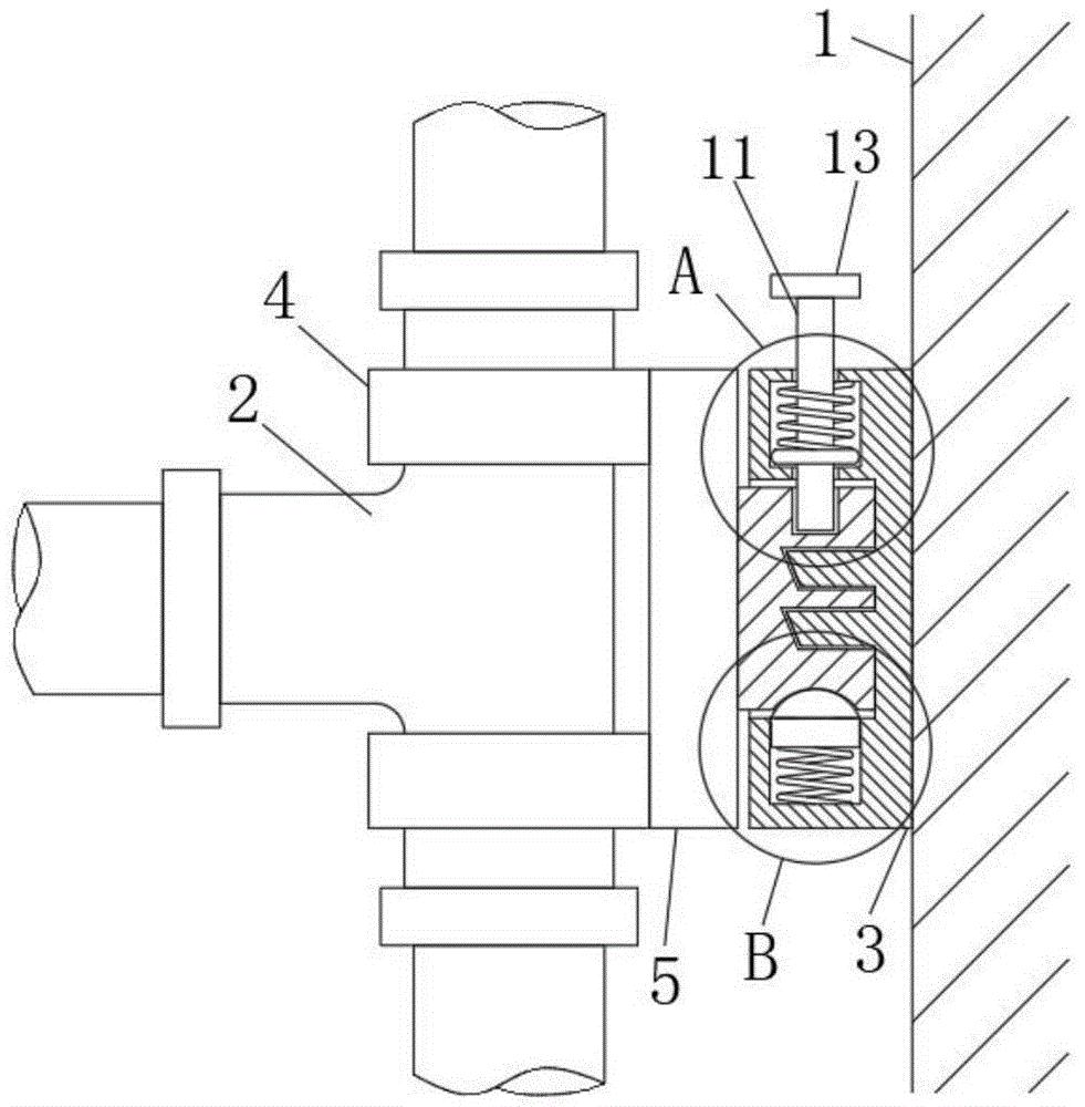
cn211708700u_一种机械加工生产用快速多方位固定装置
图片尺寸1000x918
博工新款快速夹钳 快速压具 固定夹子 压紧装置 加长版 gh-201-40
图片尺寸800x800
快捷装卸夹紧式轴套光轴固定环快速安装型光轴快速锁紧固定环紧凑
图片尺寸1152x792
快速自锁式固定装置制造方法及图纸
图片尺寸1000x712
cn106678150a_快速自锁式固定装置有效
图片尺寸1272x904
防火门联动控制器快速固定装置的制作方法
图片尺寸1000x859
一种家具设计用快速固定装置
图片尺寸698x1000
快速密封连接固定装置
图片尺寸309x361
光轴快速固定夹光轴快速固定环光轴快速轴用夹紧器凸轮快速夹紧器
图片尺寸886x770
一种多通块铣削加工用快速夹紧固定装置的制作方法
图片尺寸461x280
一种多功能冷敷快速固定装置的制作方法
图片尺寸339x444
快捷装卸夹紧式轴套光轴固定环快速安装型光轴快速锁紧固定环紧凑
图片尺寸1052x809
一种快速安装式高压线束固定装置及使用方法
图片尺寸304x360
一种三通接头的快速固定装置
图片尺寸981x1000
一种计算机硬件快速散热固定装置的制作方法
图片尺寸996x1000
一种血糖快速检测仪固定装置的制作方法
图片尺寸1000x943
数控机床用箱体快速固定装置的制作方法
图片尺寸328x443