悬臂吊结构

昆山柯恩2021新品手动悬臂起重机 灵活顺畅可定制手动旋转悬臂吊
图片尺寸790x820
悬臂吊
图片尺寸600x441
悬臂吊 旋臂龙门架 配葫芦承重0.5t
图片尺寸1347x953
轨道式移动悬臂吊
图片尺寸1367x1253
可折叠柱式悬臂吊
图片尺寸1847x1420
立柱式悬臂吊独臂吊墙壁吊摇臂吊1吨2吨3吨5吨电动旋转360度180度
图片尺寸689x492
cn2239416y_家用手摇式悬臂吊失效
图片尺寸2000x1438
供应2t电动旋转悬臂吊 生产线流水线用悬臂吊 移动式旋臂起重机
图片尺寸700x564
cn213505691u_一种折叠臂的悬臂吊装置有效
图片尺寸1874x2108
昆山立柱悬臂吊起重机的安装步骤
图片尺寸560x410
可定制移动立柱式悬臂吊 电动360度旋转小型悬臂吊起重机
图片尺寸726x537
伸缩悬臂吊的结构及运行原理
图片尺寸550x219
【专业生产】小型无线遥控立柱式液压平衡吊 悬臂吊 起重机 吊车
图片尺寸784x802
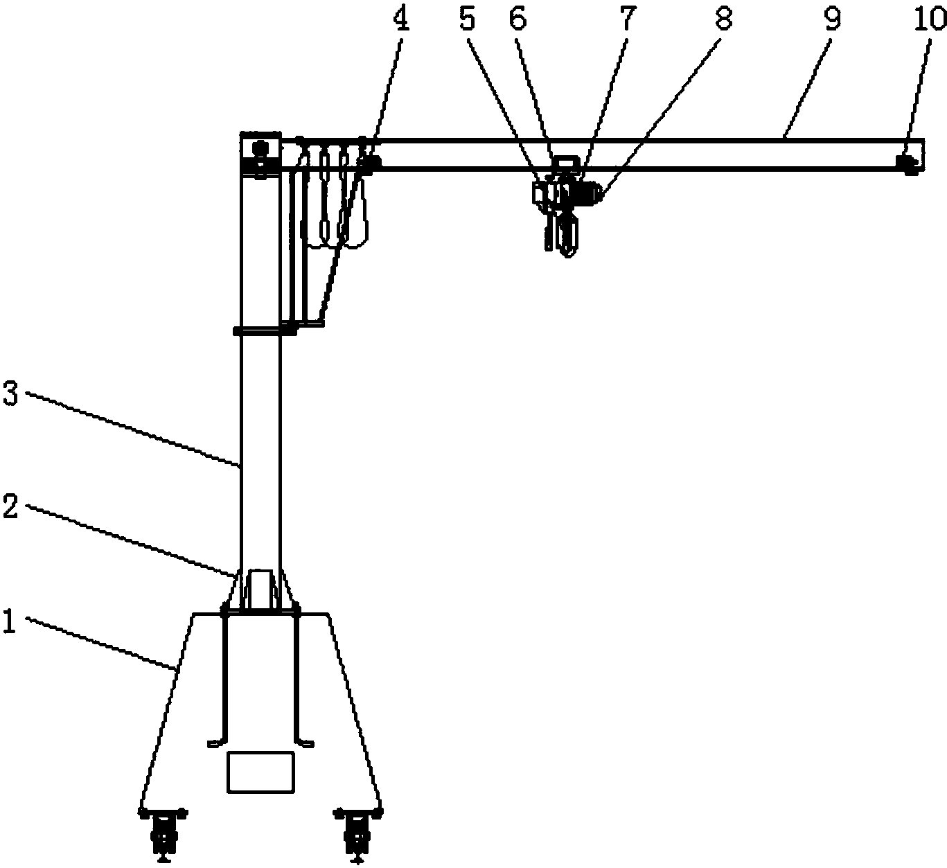
技 术 分 析 11结构 xbd5t定柱式悬臂起重机由悬臂拉杆,配重, 胖刎
图片尺寸1788x1609
5t挂壁式悬臂吊价格固定式单臂吊7字吊厂家
图片尺寸1028x743
杭州起重机--曲臂式悬臂吊
图片尺寸617x500
一种吨袋悬臂吊
图片尺寸2007x1076
工厂价 小型悬臂吊立柱式旋臂吊 移动式悬臂吊 厂家批发机械设备
图片尺寸938x676
定制移动叉腿式全电动单臂吊平衡吊车 可调叉脚全电动小型悬臂吊
图片尺寸1406x1920
制造业室内悬臂吊 立柱式旋转 承重300kg送货上门
图片尺寸900x635