截止阀平面图

4-截止阀-美标
图片尺寸1261x892
法兰截止阀
图片尺寸1997x2635
美标截止阀装配图及标准附件
图片尺寸1248x923
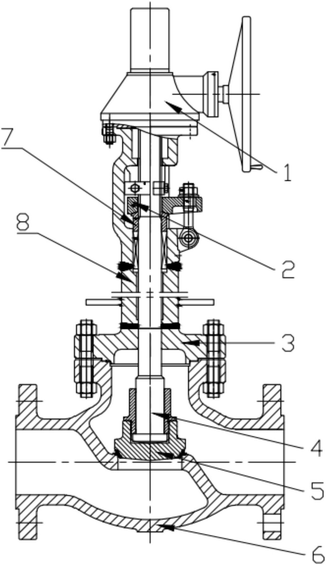
一种双重自密封电动截止阀的制作方法
图片尺寸637x1000
cn2089105u_单向截止阀失效
图片尺寸1856x1884
一种截止阀的制作方法
图片尺寸1000x897
智能开关型电动保温截止阀bj941y-16pdn50电动截止阀dn50
图片尺寸600x804
cn209385664u_一种防腐蚀的截止阀
图片尺寸1000x890
截止阀为什么被广泛的应用于人们的生活中
图片尺寸497x300
一种自控截止阀
图片尺寸1878x1646
截止阀图纸
图片尺寸748x442
j41h-16~100铸钢截止阀
图片尺寸751x537
一种低温截止阀-爱企查
图片尺寸1038x1800
一种旋塞节流式截止阀-爱企查
图片尺寸1661x2083
截止阀系列
图片尺寸720x532
国标截止阀的ug三维图纸谁有吗,哪位大哥大姐有的话能发给我看看么,最
图片尺寸584x502
wj41h波纹管蒸汽截止阀
图片尺寸353x469
cn201173296y_全通量塑料截止阀失效
图片尺寸1480x1665
fj41y型pn25pn100节流放空截止阀
图片尺寸350x420
截止阀中各个零件所起的作用
图片尺寸876x616