手动开门装置

连杆式开门装置
图片尺寸300x225
定制适用于消防液压开门器液压破门器边缘抬升器含手动泵爪式千斤顶
图片尺寸750x805
厂家直销开门器 液压开门工具 kmq-2一体式液压开门装置
图片尺寸716x546
层门安装实训设备电梯层门安装实训装置
图片尺寸602x606
如果乘客在非紧急情况下操作这些装置,地铁公安会依据《运营管理办法
图片尺寸660x371
整体嵌入半环连接的快开门装置-爱企查
图片尺寸480x480
手动开门自动关门带缓冲装置的平移门进口自动闭门机组nittonscc48
图片尺寸586x600
开关门结构,包括带有支座的门扇骨架,还包括齿轮轴和两个传动锁紧装置
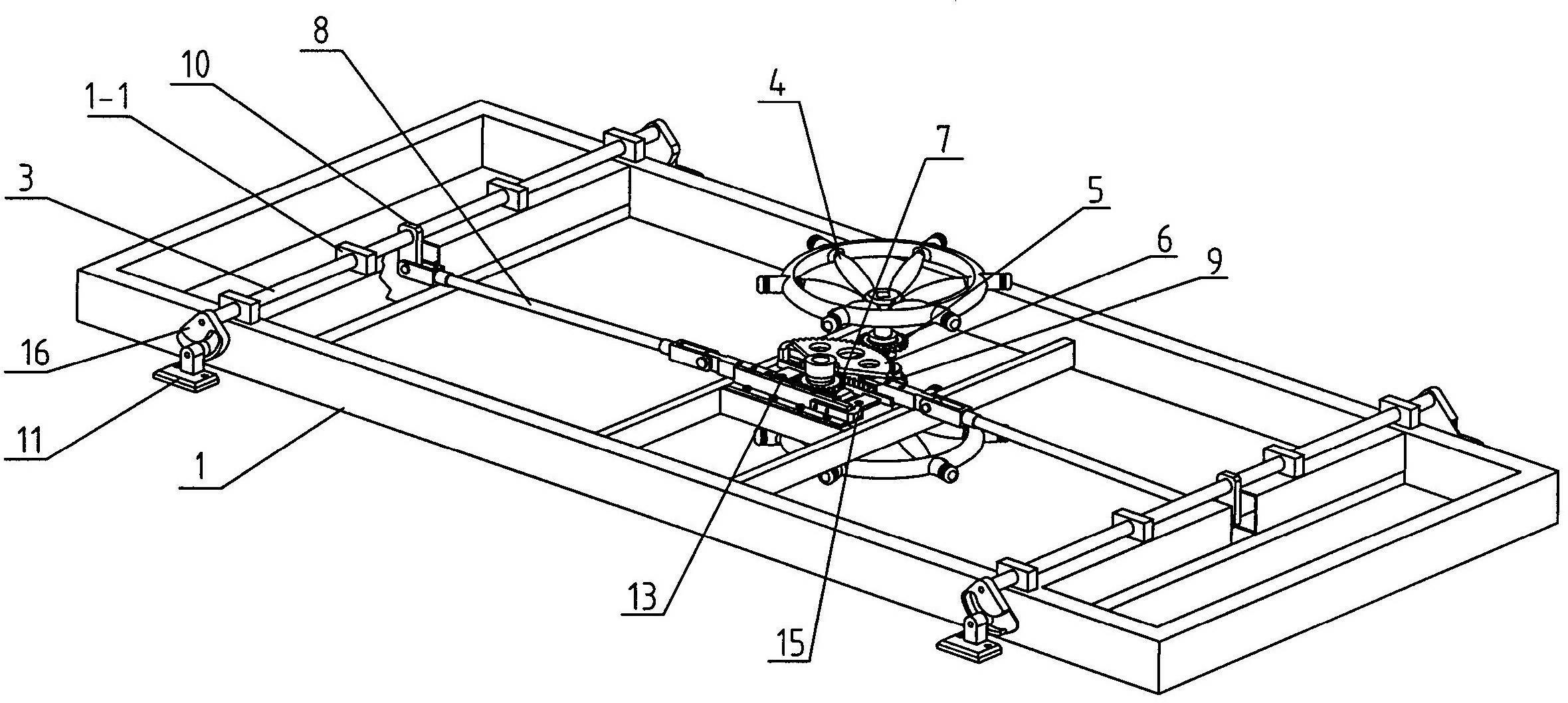
图片尺寸2360x1058
第一门刀由第一门刀驱动装置驱动实现向轿厢闭门侧摆动或者向轿厢开门
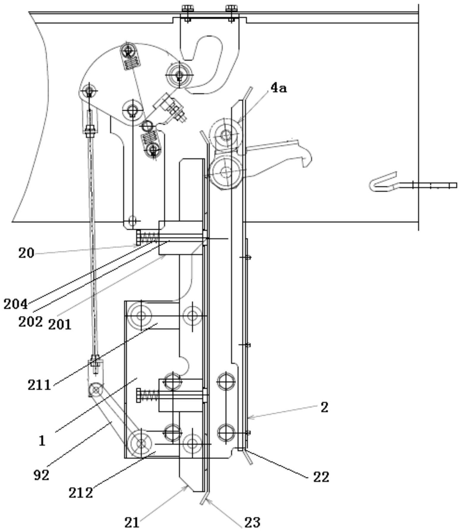
图片尺寸1551x1789
开门装置(原创)
图片尺寸300x225
快开门装置-爱企查
图片尺寸1024x1092
烟草制丝车间翻箱机开关门检测装置的研发与应用
图片尺寸586x449
门禁自动开门器是一种实现门的自动打开和关闭的设备,其组成,安装
图片尺寸800x800
此翻箱机开关门检测装置主要包括关门接近检测开关,开门接近检测开关
图片尺寸702x421
轿门开门限制装置与轿门锁的分析与探讨pdf
图片尺寸860x645
多玛ed180ed200平开门驱动装置
图片尺寸400x295
包括固定连接装置,两个开门连杆,连接铰链,导轨,滑块,连接杆和气缸等
图片尺寸1916x1739
烟草制丝车间翻箱机开关门检测装置的研发与应用
图片尺寸494x450
自动家居开门装置
图片尺寸640x360
一种用于煤矿井下的快开门装置-爱企查
图片尺寸1758x2105