手推车结构图

一种新型独轮手推车的制作方法
图片尺寸1000x833
一种双轮省力手推车的制作方法
图片尺寸1000x580
一种公路桥梁施工用手推车的制作方法
图片尺寸1000x576
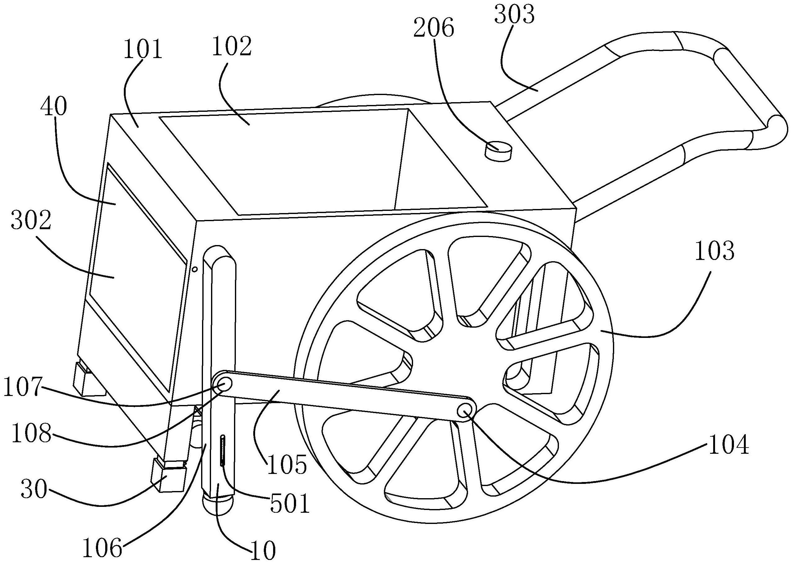
一种可收放的手推车的制作方法
图片尺寸1000x776
一种双交叉手推车-爱企查
图片尺寸1574x1245
一种组装式医用手推车的制作方法
图片尺寸892x1000
一种园林用便捷手推车制造技术
图片尺寸1000x565
儿童推车的制作方法
图片尺寸767x1000
一种儿童推车的制作方法
图片尺寸889x1000
超市购物车金属手推车超市手推购物车双层 黑色购物车双层框架结构 黑
图片尺寸800x800
一种翻斗式独轮手推车
图片尺寸1812x1118
cn213676756u_一种物流手推车有效
图片尺寸1756x1441
一种婴儿推车的制作方法
图片尺寸951x1000
一种婴儿推车结构的制作方法
图片尺寸1000x926
一种折叠手推车的制作方法
图片尺寸867x1000
cn212313587u_一种新型手推车有效
图片尺寸1645x1806
本实用新型提供了一种结构简单,操作简便及易于存放的可收合的手推车
图片尺寸1683x1107
cn112158239a_一种工地手推车在审
图片尺寸2552x1816
多功能手推车-爱企查
图片尺寸610x800
手推车的制作方法
图片尺寸962x975