扭王字块图纸

南水北调工程,河北涿州拒马河防护应急抢险.扭王字块钢模具,扭 - 抖音
图片尺寸1138x1138
扭王字块预制施工.doc 7页
图片尺寸792x1120
16t扭王字块模板的设计制作与使用
图片尺寸1200x1695
扭王字块预制专项施工方案文档.doc
图片尺寸792x1120
一种30t扭王字块的预制模板
图片尺寸1770x2014
扭王字块模具 生产描述说明
图片尺寸640x670
扭王字块模具制作与作用解析
图片尺寸720x720
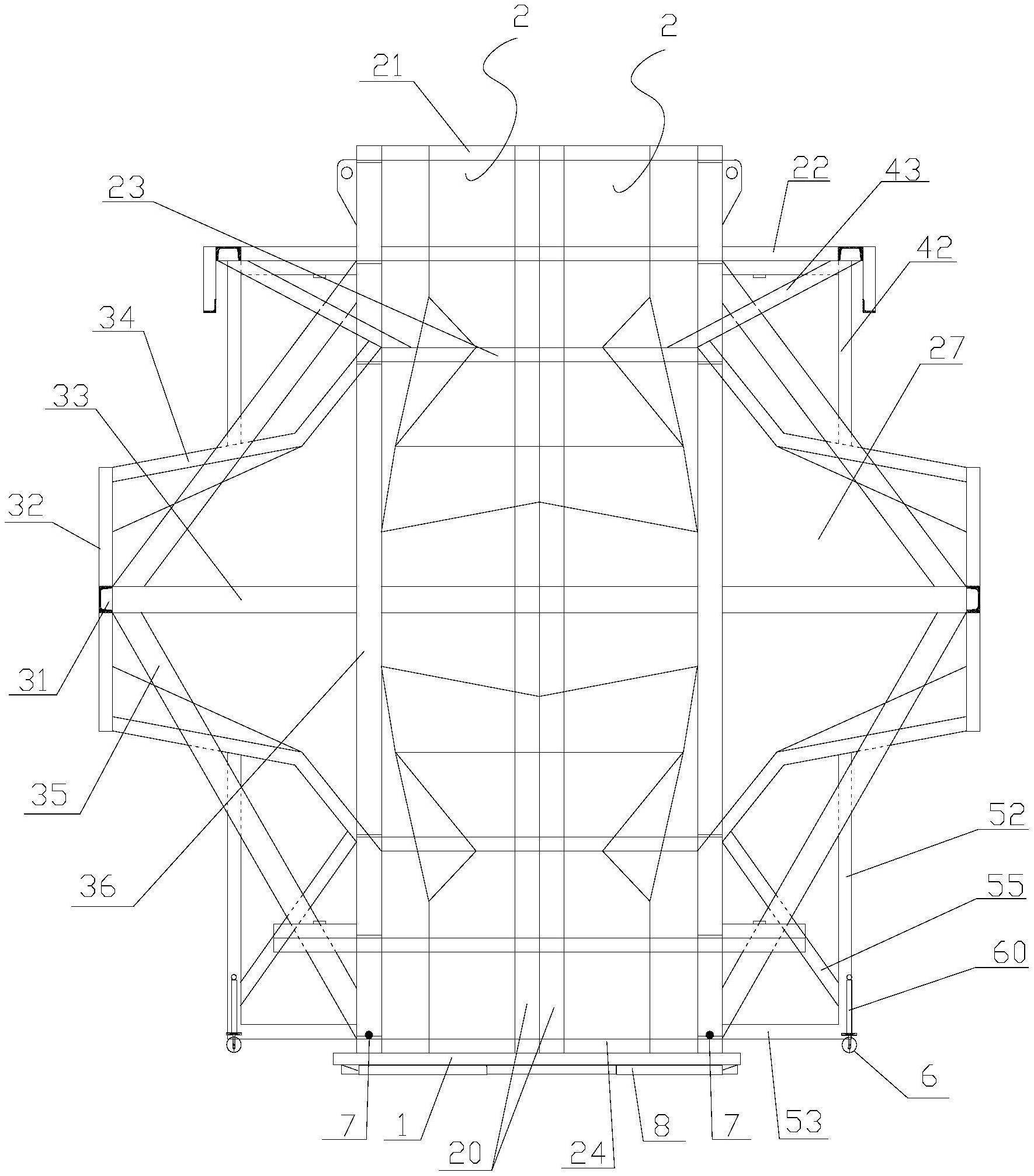
一种山区河流筑坝的扭王字块的拼装方法与流程
图片尺寸1071x2227
5t和10t扭王块结构图钢模板图
图片尺寸610x413
扭王字块成型模具的制作方法
图片尺寸1000x985
cn105128135a_扭王字护面块生产装置及其使用方法在审
图片尺寸1000x935
防波堤和护岸工程扭王字块预制专项施工方案
图片尺寸560x420
扭王字体防浪块模具# #扭王字块# 关#水泥扭王字块模具# 于#扭王字块
图片尺寸1328x1280
扭王字块防浪石模具#扭王字块模具
图片尺寸2667x2000
扭王字防浪块模具的整体分析
图片尺寸640x640
影响扭王字块模具的成本要素
图片尺寸640x640
海南扭王字块钢模厂家报价
图片尺寸711x467
扭王字块防浪石模具#扭王字块模具
图片尺寸2000x2667
扭王字块钢模具 防浪石模具#扭王字块模具
图片尺寸2000x2667
混凝土扭王字块模 板 斜坡式扭工王字块模具 脱模方便 政盛制造 - 爱
图片尺寸750x750