折叠固定结构

一种折叠式铝型材结构-爱企查
图片尺寸800x509
可折叠支架的制作方法
图片尺寸386x443
一种折叠机构及跑步机
图片尺寸1740x2034
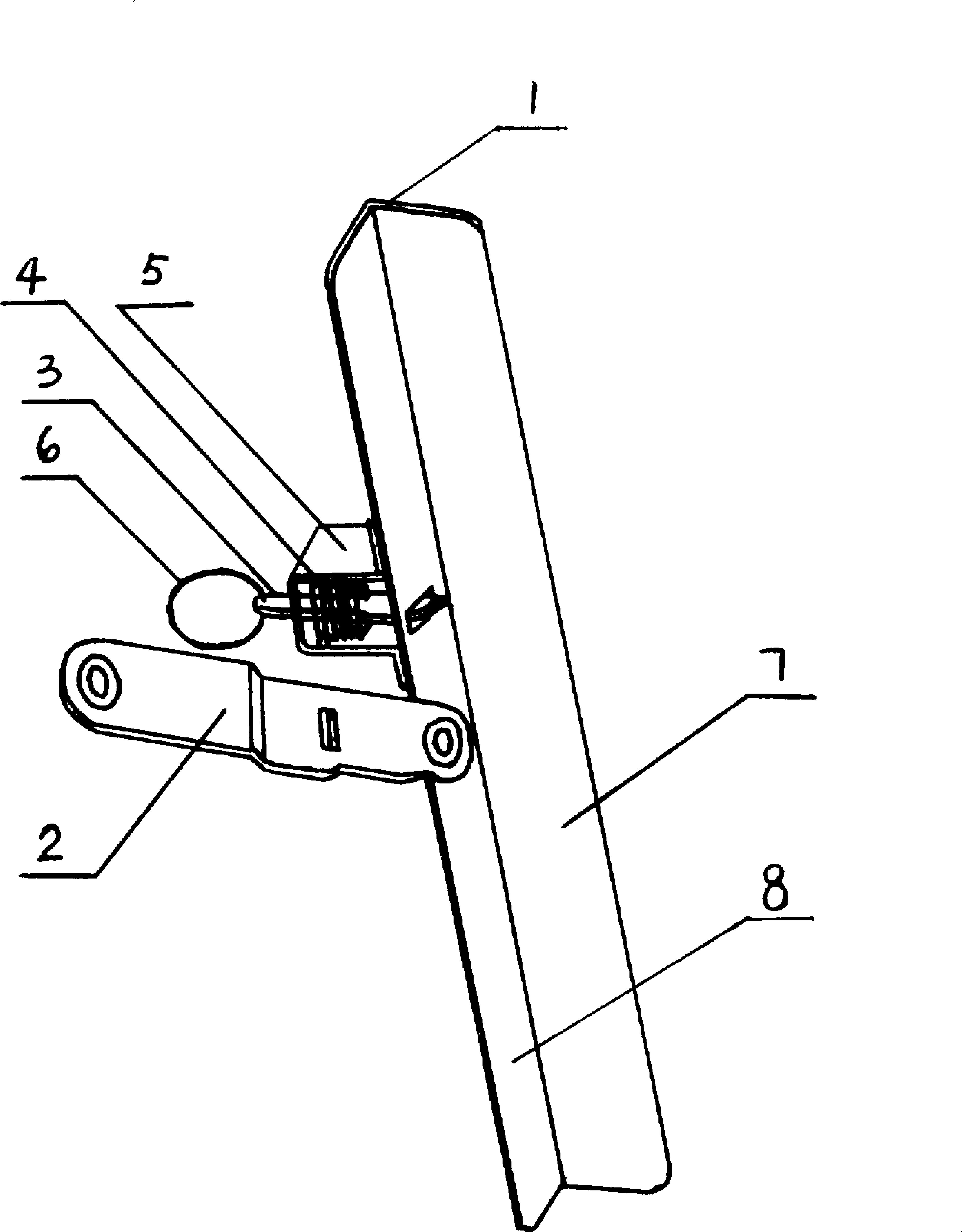
x折叠椅自锁装置-爱企查
图片尺寸3904x4977
一种隐蔽式多功能折叠板架的制作方法
图片尺寸964x1000
"折叠"——产品设计_设计的_prof_结构
图片尺寸531x751
一种折叠收纳箱的翻折结构
图片尺寸2631x1867
一种灾后逃生的可折叠的双层避难框架装置
图片尺寸1681x1781
滑板车折叠机构及滑板车-爱企查
图片尺寸1680x1680
cn211083336u_一种加强结构的折叠式支撑架有效
图片尺寸897x1000
本实用新型涉及折叠结构件,尤其是涉及一种折叠支撑装置.
图片尺寸1000x794
cn2046333u_折叠式蚊帐架失效
图片尺寸2368x1856
折叠支架
图片尺寸1831x1793
折叠|苹果计划在其" iphone fold"产品上使用一种复杂的铰链结构
图片尺寸658x402
一种建筑工程用可折叠机械臂钢架结构
图片尺寸1320x1526
一种具有折叠防撞结构的移动护栏的制作方法
图片尺寸1000x886
折叠支架三角架壁桌挂桌托架桌架餐桌活动置物层板拖
图片尺寸2954x2448
一种四脚折叠支架的制作方法
图片尺寸1639x2803
无人机机臂折叠固定机构
图片尺寸1679x1271
一种折叠凳功能柱体折叠机构及可调节便携式折叠凳的制作方法
图片尺寸649x1000