抛光机结构图

电动抛光机 状态:设计完成,进入出图阶段,结构如下图所示.
图片尺寸893x545
抛光机的制作方法
图片尺寸1000x889
cn106808355a_单面抛光机失效
图片尺寸1588x1030
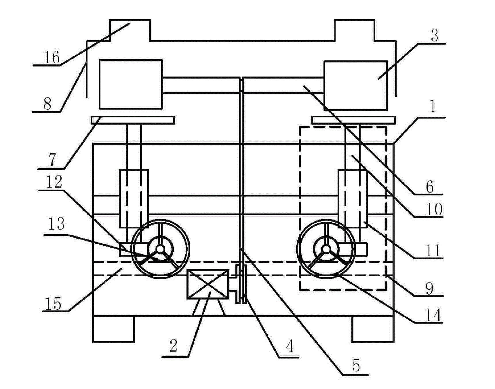
一种木板抛光机
图片尺寸1720x1352
全自动圆盘回转抛光机
图片尺寸1592x976
一种高效多点加压式自动金相研磨抛光机
图片尺寸936x934
本实用新型公开了一种大直径圆管抛光机,其结构包括防护罩,配电箱
图片尺寸1818x1931
超硬刀片钝化抛光机
图片尺寸1115x1229
一种高效多点加压式自动金相研磨抛光机制造技术
图片尺寸944x945
一种多功能管材抛光机制造技术
图片尺寸1000x990
抛光机的制作方法
图片尺寸1000x635
cn206605322u_一种内圆抛光机有效
图片尺寸553x548
安装在横板上的电机,固定卡板和抛光轮;所述的固定卡板为圆盘状结构
图片尺寸1000x720
一种全自动抛光机制造技术
图片尺寸1000x656
弯管抛光机制造技术
图片尺寸1000x933
抛光机毕业设计
图片尺寸578x818
自动抛光机的制作方法
图片尺寸1000x997
一种直边抛光机结构制造技术,玉石震动抛光机结构图专利_技高网
图片尺寸999x1000
cn203460049u_高效周边连续抛光机有效
图片尺寸429x495
ly/t 1367-1999 1985-11-08发布 注:本图不限制衬板抛光机具体结
图片尺寸640x434