抱箍冲压模具

管子抱箍压型模具 根据图纸或样品定做 落料 弯曲压型冲床模具
图片尺寸1080x2160
便于调节的多宽度抱箍冲压模具-爱企查
图片尺寸558x800
铁板抱箍卷圆冲压成型模具 够大没?
图片尺寸640x1138
这个抱箍冲压卷圆模具怎么样?
图片尺寸1080x608
铁板抱箍卷圆冲压成型模具 够大没?
图片尺寸1080x608
抱箍连续模具#抱箍模具#浙江抱箍模具#山东抱箍模具#广东抱箍模具
图片尺寸425x318
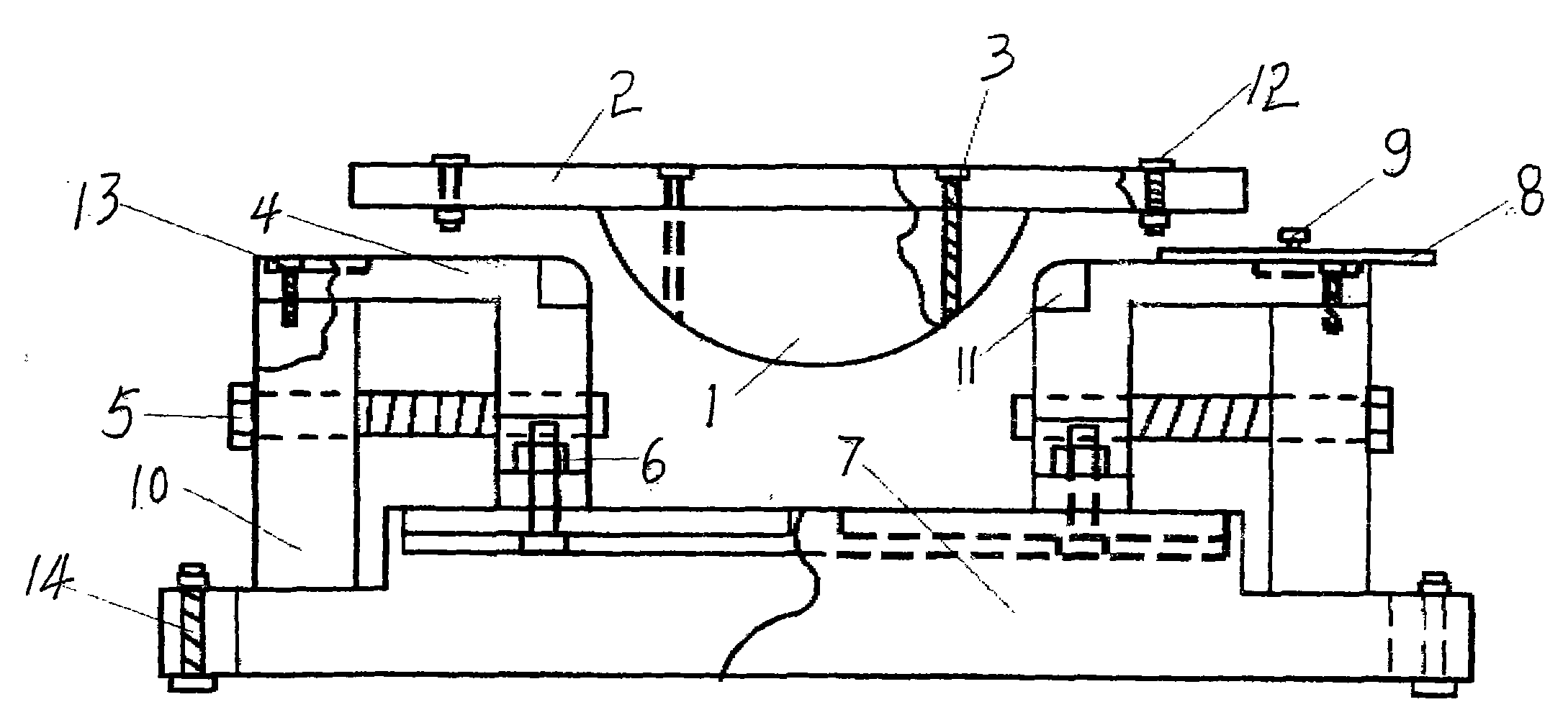
一种转盘式自动送料的抱箍冲压模具
图片尺寸1670x1205
申德520抱箍 饲料模具 饲料制粒机 孔径1.
图片尺寸360x360
扁铁抱箍成型模具设备-爱企查
图片尺寸1423x1147
五金抱箍件的冲压模具,结构创新才是合理的设计
图片尺寸1080x810
桥梁抱箍模具视频教程
图片尺寸422x237
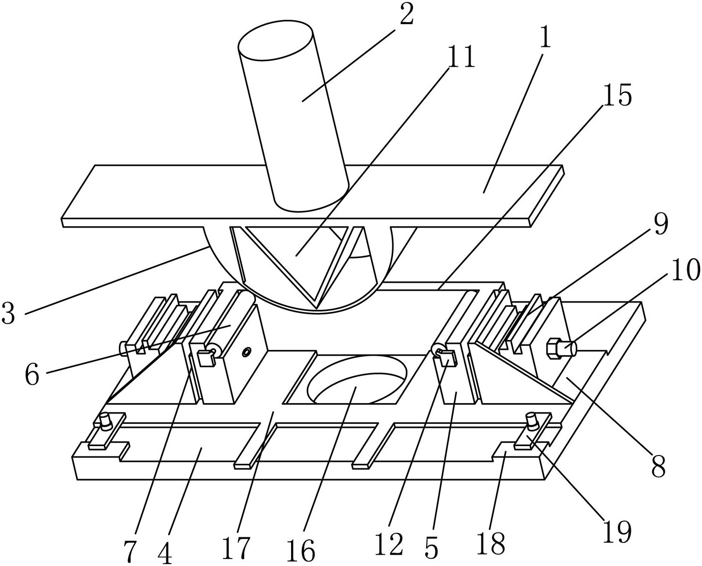
一种抱箍加工用冲压模具的制作方法
图片尺寸404x444
长期供应抱箍模板模具
图片尺寸360x360
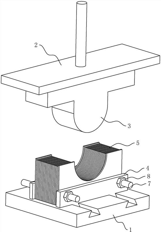
圆管铁板抱箍冲压卷圆成型
图片尺寸1004x627
一种抱箍成型用冲压模具的制作方法
图片尺寸965x1000
开封桥梁抱箍钢模板
图片尺寸800x600
链接冲压模具锁扣模具 金属冲压成型模 不锈钢拉伸模具 机械配件-报价
图片尺寸340x340
武汉抱箍模板
图片尺寸600x512
抱箍冷弯冲压成型模
图片尺寸2178x1008
小抱箍冲压制作这个模具有点敷衍了特别声明:以上文章内容仅代表作者
图片尺寸480x853