拉链头结构

现货拿样8号树脂拉链特殊牙齿菱形牙拉链双开尾120cm
图片尺寸750x1043
一种拉链拉头结构-爱企查
图片尺寸736x800
拉链头组合结构及其连接套环
图片尺寸2475x2136
图2-20 拉链头结构示意图
图片尺寸939x448
一种便于装卸的拉链头制造技术
图片尺寸995x1000
拉链的拉头的制作方法
图片尺寸929x1000
一种拉链拉头的制作方法
图片尺寸993x1000
东莞树脂拉链定制
图片尺寸500x500
一种新型拉链头
图片尺寸1785x2415
一种防卡死易润滑拉链头的制作方法
图片尺寸1000x905
2020年中国拉链行业市场规模,进出口及竞争格局分析,民族企业竞争力不
图片尺寸750x531
5号长牌尼龙拉头拉链配件厂家批发
图片尺寸800x748
自锁拉链头
图片尺寸1395x2217
cn1084720a_自动上锁的隐形拉链拉头失效
图片尺寸1024x1261
一种耐磨损拉链头
图片尺寸2113x979
一种拉链及可拆卸拉头的制作方法
图片尺寸989x1000
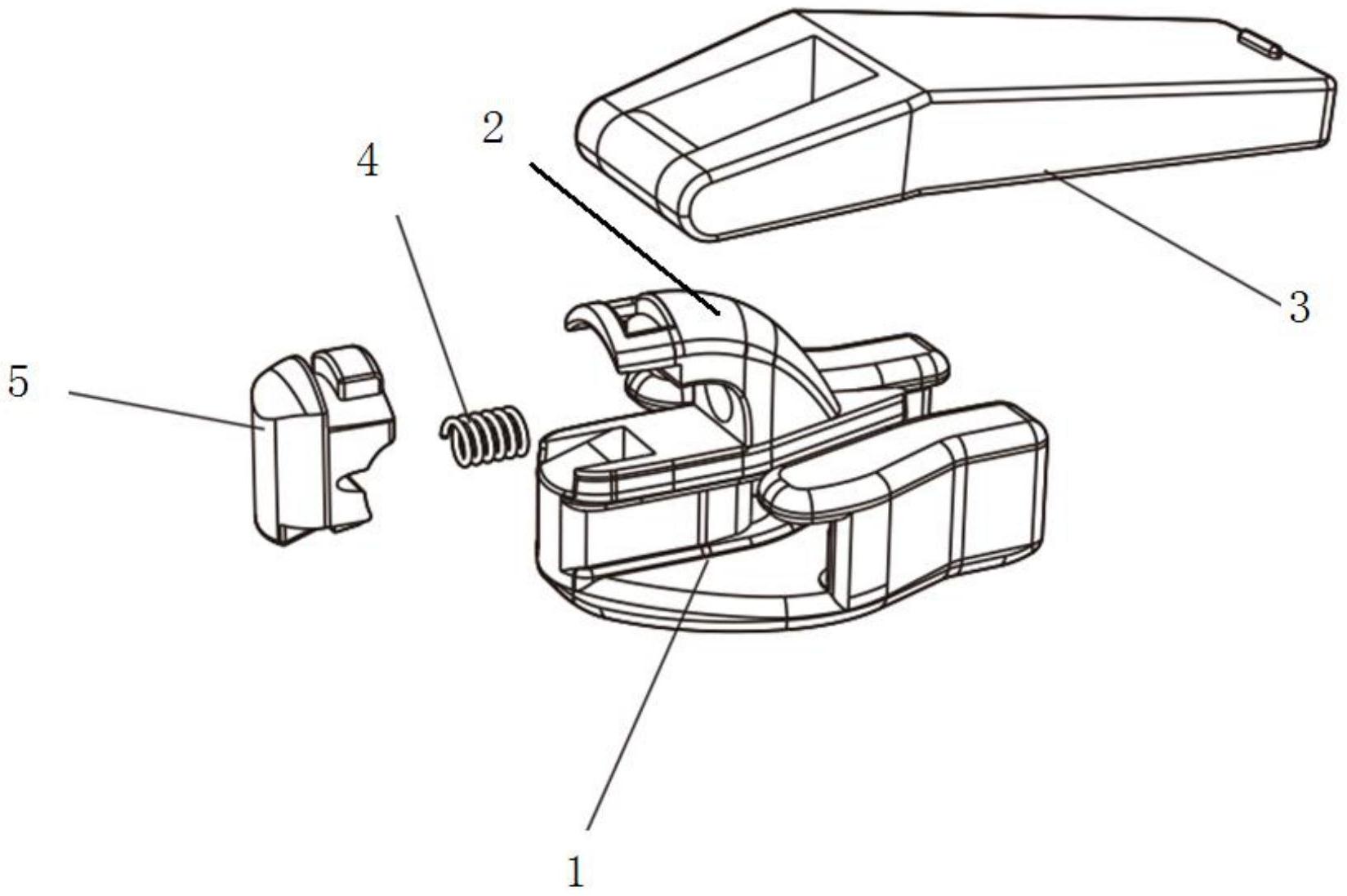
cn212574360u_一种拉头及具有该拉头的拉链
图片尺寸1649x1097
拉链的组成结构选购和测试指标
图片尺寸1024x540
一种双层单孔拉链头的制作方法
图片尺寸926x1000
一种新型可拆卸拉链头的制作方法
图片尺寸1000x590