拐杖把手尺寸

厂家直销,木制龙头拐杖,龙头拐杖,老人拐杖,拐杖 60根起订
图片尺寸750x473
智能拐杖登山杖gps定位跌倒报警自动呼叫照明拍照收音机mp3
图片尺寸790x1093
批发新款智能拐杖多功能mp3收音机照明手杖登山杖老人会销礼品
图片尺寸790x1285
日本特高步老人拐杖防滑枫木把手铝制折叠伸缩拐杖eop105棕色
图片尺寸750x2233
文明棍红木拐扙老人拐杖老年人防滑轻便木头拐棍女实木质手杖绅士文明
图片尺寸790x992
日本特高步老人拐杖稳定性 防滑枫木把手铝制伸缩拐杖ep02紫色
图片尺寸750x1445
【拓冰/tuobnign】直销批发折叠铝合金拐杖老人四脚手杖拐杖
图片尺寸750x938
【2支装】骆驼户外登山杖手杖轻多功能爬山装备伸缩铝合金拐杖 a9xnt
图片尺寸790x1100
全国赛获奖作品125新型拐杖
图片尺寸1080x544
自游人登山杖伸缩轻便折叠拐杖徒步爬山拐棍老人手杖户外出游装备-t
图片尺寸658x1243
厂家直销刻花拐杖,梅兰竹菊 拐杖手杖,老人拐杖, 60根起拍
图片尺寸750x503
代理专拍铝合金腋下拐杖医用铝合金加厚高度可调老人防滑拐杖腋下
图片尺寸790x911
【】老人智能mp3插卡多功能收音机接听登山防滑防摔手杖登山杖拐杖
图片尺寸660x834
日本特高步老人拐杖稳定性 防滑枫木把手铝制伸缩拐杖ep13紫色
图片尺寸750x1445
2022新款红木老人拐杖防滑老年人杖拐木头柱棍四脚鸡翅木手杖实木拐棍
图片尺寸790x1114
妖怪伸缩棍登山杖碳合金超轻伸缩折叠男女户外老人拐杖户外登山徒步
图片尺寸800x800
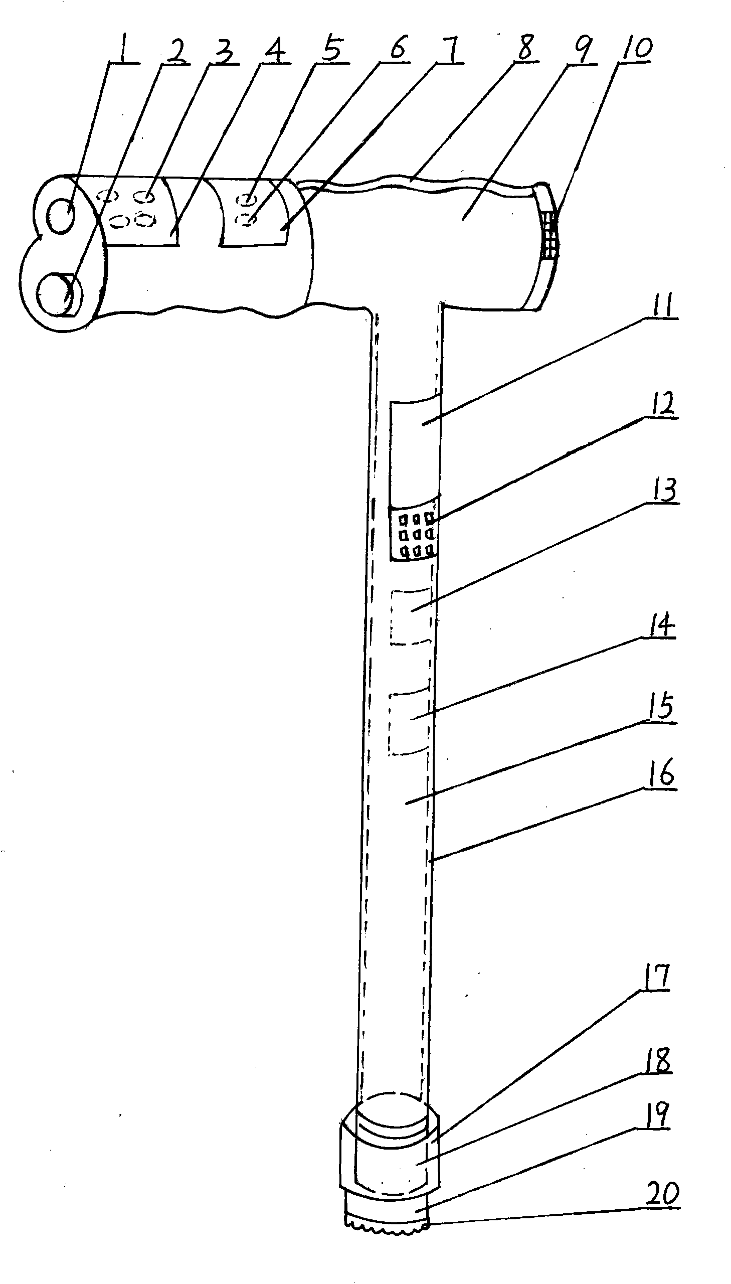
多功能拐杖
图片尺寸1458x2560
campleader碳素杖批发登山杖滑雪杖批发 超轻碳素登山杖
图片尺寸750x1020
包邮全不锈钢四角拐杖四脚手杖老人拐棍可9档伸缩调节老年助行器
图片尺寸750x704
yuetor outdoor铝合金折叠手杖5节伸缩登山杖防滑可调老人拐杖
图片尺寸720x736