拖鞋三视图

卡美多2024夏季新款厚底圆头乐福拖鞋女休闲外穿时装拖鞋穆勒拖鞋
图片尺寸1500x2322
拖鞋设计
图片尺寸1080x1439
3款棉毛拖鞋的结构图分享
图片尺寸1080x1248
图片尺寸1000x546
人字拖
图片尺寸1600x1600
图片尺寸1502x1951
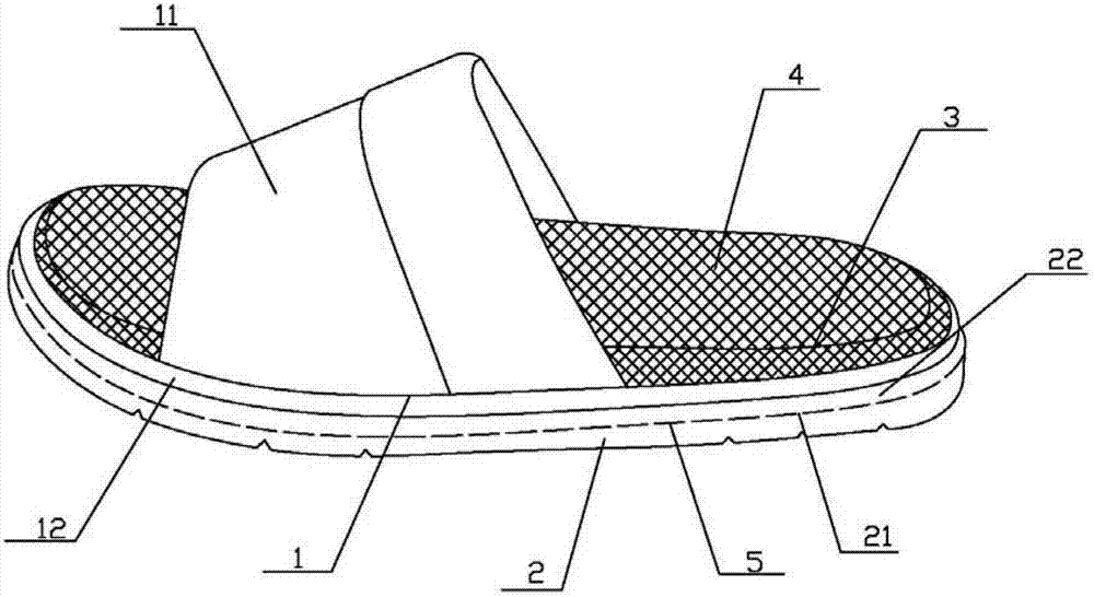
具有足部按摩及止滑功能的拖鞋结构
图片尺寸1621x1990
拖鞋线描技法
图片尺寸1024x1024
教程丨入门案例!零基础就能学会的拖鞋建模详细教程
图片尺寸1080x1528
儿童鱼嘴拖鞋尺寸图点赞收藏吧!
图片尺寸1187x2036
鱼嘴鞋样仅供参考,有需要的姐妹们收藏吧#纯手工编织拖鞋 #我
图片尺寸1440x1920
俯视图沙滩拖鞋矢量图
图片尺寸260x260
简笔画小拖鞋
图片尺寸353x379
左划解锁一个梦想
图片尺寸1500x1500
拖鞋.彩色剪影.俯视图在前面.矢量简单的平面图形插图
图片尺寸800x800
简笔画拖鞋教程:赋予日常用品新生命
图片尺寸600x1497
图片尺寸1919x1144
鞋设丨2024"妈祖杯"作品赏析
图片尺寸1080x764
棉拖鞋纸样图尺寸
图片尺寸450x600
拖鞋简笔画 拖鞋简笔画儿童
图片尺寸800x800