拜泉县陈宝忠

01陈宝忠
图片尺寸449x638
2019,08,18.27班同学在一次相聚在一起
图片尺寸1080x1440
因为时至下班时间,周围没有人,马医生便拿着钱包找到了值班保安陈宝忠
图片尺寸500x375
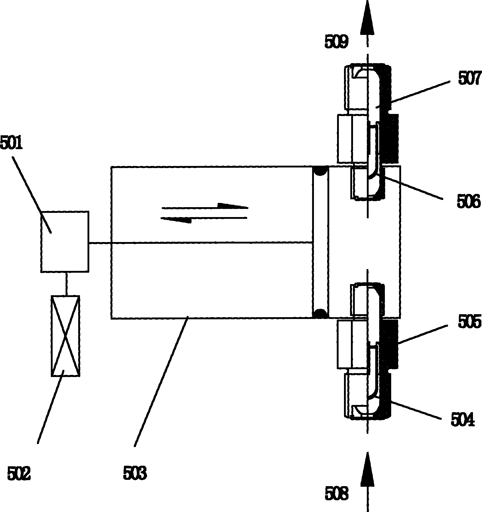
一种阀和阀接头装置
图片尺寸1603x1703
赴台熊猫繁殖不是问题 娘家人可望赴台交流(图)
图片尺寸500x375
通辽市自来水有限责任公司党委书记,董事长,总经理陈宝忠先生以"发挥
图片尺寸563x380
陈宝忠
图片尺寸550x365
呼和浩特市供排水公司做客《12345便民服务热线》 拉近为民服务距离
图片尺寸553x369
浦东新区政协教卫体主任陈宝忠传达了新区基层协商民主的精神,并提出
图片尺寸660x440
黑龙江中医药大学附属第二医院
图片尺寸533x800
陈宝忠
图片尺寸450x338
2019年10月11日上午,通辽市开鲁县人民法院刑事审判庭公开开庭审理此
图片尺寸904x520
图文-新浪高尔夫球友会 果岭上认真推杆
图片尺寸367x550
陈宝忠何雪薇古典吉他师生专场音乐会(703场)
图片尺寸570x414
约翰·威廉斯 - cavatina_百度视频搜索
图片尺寸352x234
空间准备了欢迎仪式,全国宣传干部学院副院长陈宝忠在欢迎仪式中表示
图片尺寸1080x720
通辽‖陈宝忠,魏丹接受纪律审查和监察调查_日报
图片尺寸1080x1648
挖色镇召开2022年今冬明春及2023年"元旦""春节"期
图片尺寸993x1009
予慈善基金会名誉会长陈宝忠一行前往四川省凉山彝族自治州美姑县调研
图片尺寸1080x1565
作协诗歌委员会主任吉狄马加,中宣部全国宣传干部学院原副院长陈宝忠
图片尺寸1269x882