拱架结构图

一种隧道钢拱架安装结构
图片尺寸2265x1586
隧道拱架及隧道拱架安装方法
图片尺寸1716x1869
桥梁工程-1102 拱架,支架与模板工程ppt
图片尺寸1080x810
拱形骨架模板用于高铁护坡工程,直径3米,组合式结构,方便安装,材质抗
图片尺寸963x1280
一种钢管拱桥拱架的架设方法
图片尺寸1908x789
一种预制钢拱架的制作方法
图片尺寸1815x1735
装配式中空夹层钢管混凝土拱架及其施工方法在审
图片尺寸2093x1669
一种基于钢格栅的拉索式拱架
图片尺寸1706x1747
隧道拱架的安装方法
图片尺寸1878x1122
一种多榀预制折叠拱架
图片尺寸768x800
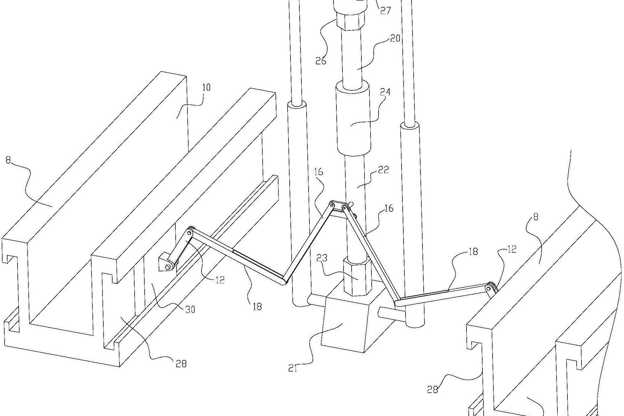
一种隧道钢拱架放置装置
图片尺寸2174x1449
巷道拱形桁架快速支护结构
图片尺寸1260x888
桥梁工程-1102 拱架,支架与模板工程ppt
图片尺寸1080x810
拱形骨架模板# 你见过拱形骨架模具吗?
图片尺寸576x1280
一种水利修筑钢拱架
图片尺寸1830x776
一种新型tbm钢拱架自动拼装作业装置及作业方法
图片尺寸1996x1627
一种加强拱架结构制造技术
图片尺寸1000x981
大型体育场馆巨拱结构高空倾斜偏转提升施工工法
图片尺寸990x518
基于bim仿真分析设计的移动装配式隧道衬砌拱架
图片尺寸444x315
一种便于移动的拼装式系杆钢拱架的制作方法
图片尺寸1000x619