按压式结构

按压式弹性自锁机构,原理真的很巧妙
图片尺寸1200x1024
一种按压式手柄
图片尺寸1000x733
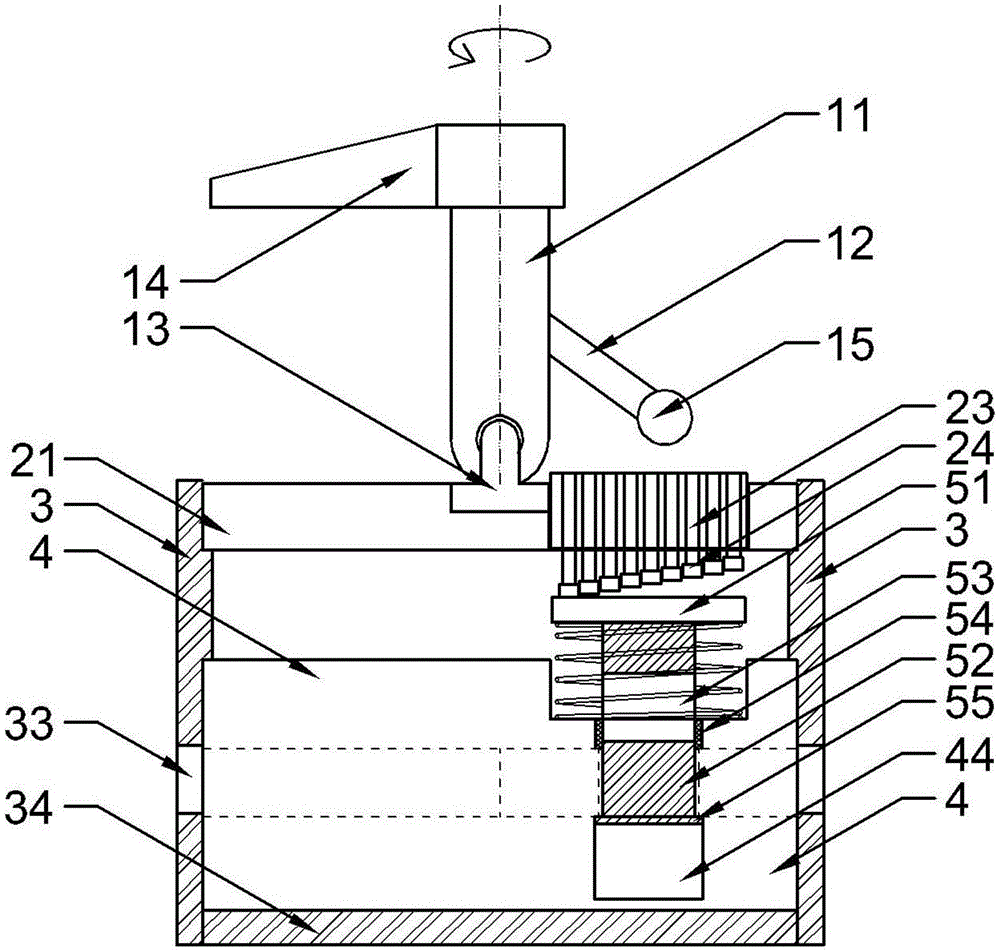
一种按压式喷头的制作方法
图片尺寸889x1000
微型按压自锁扣图纸
图片尺寸813x676
cn2769644y_自动延时关闭按压式水龙头失效
图片尺寸1243x1417
一体按压式透气阀门制造技术
图片尺寸986x1000
cn201017795y_按压式开关结构失效
图片尺寸1140x2357
按压式水龙头的制作方法
图片尺寸431x1000
cn202635992u_液体化妆笔的按压结构失效
图片尺寸596x1000
cn105206438a_一种耐恶劣环境的按压式行程开关有效
图片尺寸1000x994
cn209343970u_一种按压式开关自锁结构有效
图片尺寸729x1000
按压式控制开关,通过按压控制,可以实现开关的通断,且其通断结构稳定
图片尺寸1296x948
cn112660600a_一种外置弹簧卡扣式按压泵结构
图片尺寸558x1000
cn209671675u_一种按压式陶瓷阀芯结构
图片尺寸1000x951
按压自复位式自发电开关
图片尺寸1538x1954
一种饮水机按压式水龙头安装结构-爱企查
图片尺寸1586x1513
一种按压式水瓶盖的制作方法
图片尺寸1000x818
一种按压式开盖的保温杯-爱企查
图片尺寸2249x2406
一键按压式开关结构-爱企查
图片尺寸800x601
cn213418769u_一种按压式锁扣有效
图片尺寸2375x2104