按压弹簧结构

按压弹出结构及电子设备的制作方法
图片尺寸1000x426
弹簧顶针结构
图片尺寸605x375
按压式卡扣开关 弹簧按钮开关
图片尺寸292x220
机械设计常用件弹簧的基础知识汇总
图片尺寸800x1120
按压自动弹扣开关锁扣塑料按压弹扣塑料自锁扣门锁扣
图片尺寸1920x1327
弹簧操动机构动作原理
图片尺寸1078x774
按钮型锁紧器 qcbu,qcbus
图片尺寸615x599
家具门窗制品及其配附件制造技术
图片尺寸1000x751
美国ace工业气弹簧gz28100va一级供应商
图片尺寸1034x1200
机械设计中弹簧ppt
图片尺寸1080x810
滑块(滑块上主要有拉杆导槽结构和存储卡拉钩结构),复位弹簧(这里用的
图片尺寸946x424
柜门反弹器免拉手单门碰按压式自弹器消防栓按弹器双门碰隐形门吸
图片尺寸750x1111
一种弹性按压反弹结构的制作方法
图片尺寸878x1000
分享一个sd卡弹出机构的文件大家一起了解
图片尺寸359x603
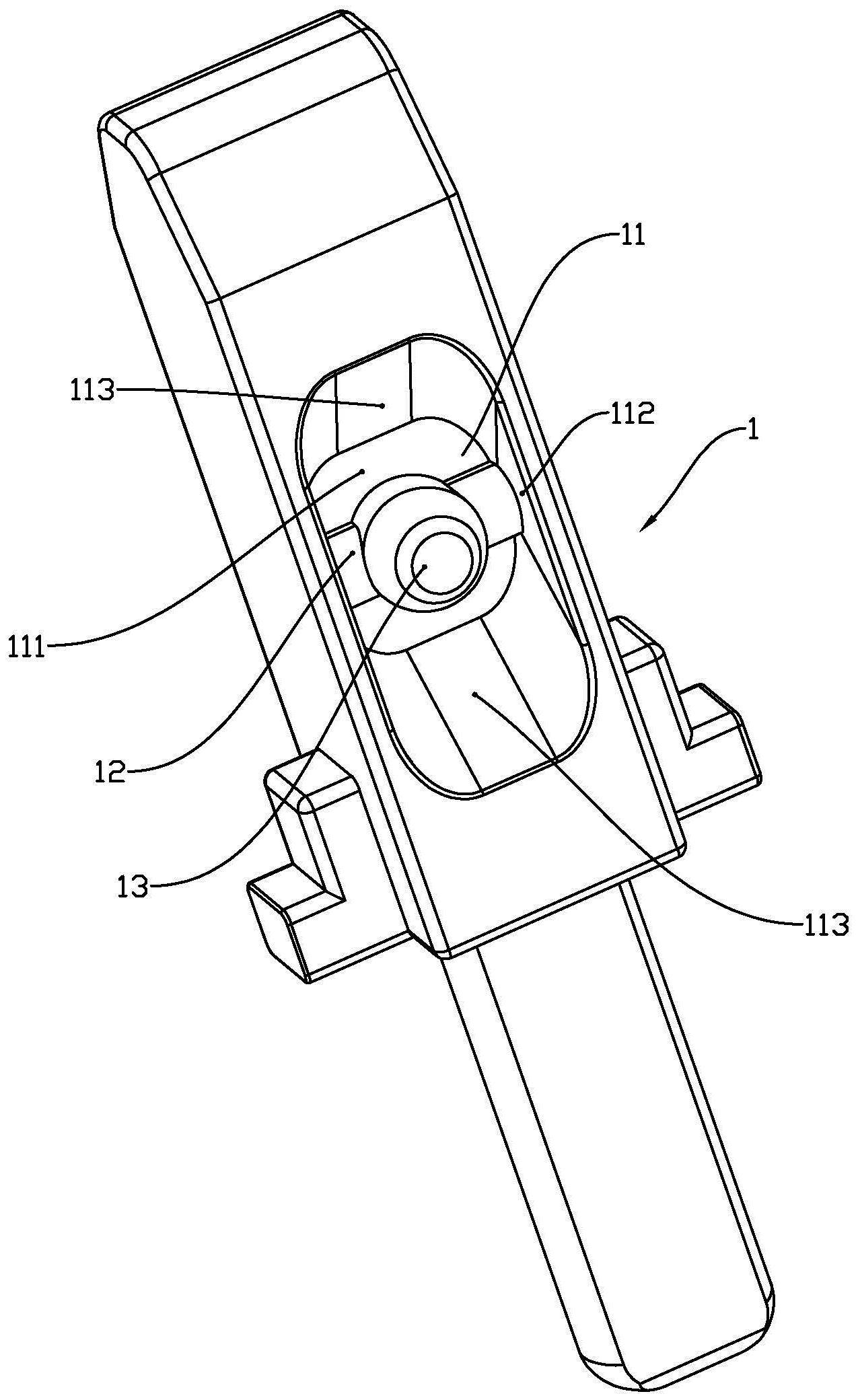
按钮开关的按压件联动弹簧定位结构
图片尺寸1275x2081
微型按压自锁扣图纸
图片尺寸813x676
弹簧-机械设计-课件-16ppt
图片尺寸1080x810
1.弹簧开关结构图:2.滚珠开关结构图:a. 青铜盖b.
图片尺寸472x425
其中,圆柱螺旋弹簧结构简单,制造方便,用途最广,分为压缩弹簧,拉伸
图片尺寸640x506
美/ 德ace不锈钢气弹簧/氮气弹簧gs-10-v4a 推型用于食品 药物
图片尺寸671x1024