按压泵头结构

厂家直销化妆品包装abs材质乳液泵头洗发水沐浴露塑料按压泵头
图片尺寸626x1024
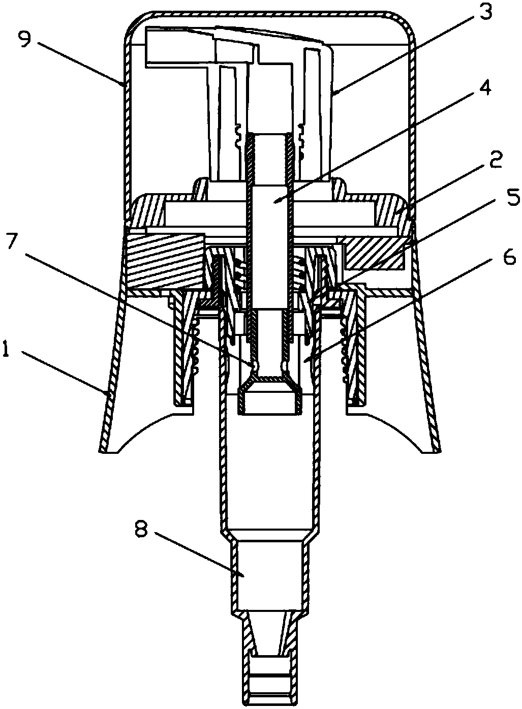
涉及一种液体泵头结构,更具体的说,本发明主要涉及一种按压式乳液泵头
图片尺寸602x846
日用品包材 28/410按压式乳液泵 洗手液沐浴露喷头 手压式乳液泵
图片尺寸750x1393
乳液泵头批发表面光亮电镀新款塑料泵头按压式塑料喷头
图片尺寸800x918
alibaba china free samples plastic hand pump soap dispenser
图片尺寸630x630
一种弹簧外置防溢按压泵
图片尺寸1571x2600
工厂白色现货43mm泡沫泵头按压起泡器洁面洁牙慕斯清洁剂泡沫泵头
图片尺寸800x1229
一种泡沫按压泵头的制作方法
图片尺寸556x895
一种卡扣防丢失跟随式按压泵
图片尺寸891x1750
一种防污染的按压式乳液泵头的制作方法
图片尺寸1000x530
【宁波供应】银色氧化铝按压式粉泵 化妆品包材 鸭嘴乳液泵头
图片尺寸800x602
批发定制经典耐用塑料乳液泵头 沐浴露洗发水通用纯色乳液喷头
图片尺寸800x800
cn208248872u_一种防污染的按压式乳液泵头有效
图片尺寸1000x530
一种按压泵
图片尺寸1027x1395
工厂定制磨砂瓶身体乳液瓶按压式泵头化妆品卸妆油瓶塑料喷头包装
图片尺寸790x449
cn112660600a_一种外置弹簧卡扣式按压泵结构
图片尺寸558x1000
一种防污染防滴漏的按压式乳液泵头的制作方法
图片尺寸843x1000
潜油泵泵头结构的制作方法
图片尺寸1000x763
一种外置弹簧锁螺牙式按压泵结构的制作方法
图片尺寸620x1000
意大利ms4系列机械隔膜计量泵结构图
图片尺寸692x568