振动刀结构图

一种大幅度振动的电动振动刀的制作方法
图片尺寸482x1000
一种大幅度振动的震动切割刀的制作方法
图片尺寸593x1000
一种可裁切柔性材料的无刷电机振动刀的制作方法
图片尺寸491x508
设备管理论文
图片尺寸892x961
一种可用于空间材料切割的振动刀具
图片尺寸575x734
一种自动裁床振动刀头的制作方法
图片尺寸800x1000
一种电磁振动刀的制作方法
图片尺寸1000x460
高频振动刀的制作方法
图片尺寸493x1000
拉丝气垫专用振动刀 振动刀切割机w系列 产品中心 【官】济南微尔激光
图片尺寸600x443
一种多层材料振动刀切割机的制作方法
图片尺寸1000x707
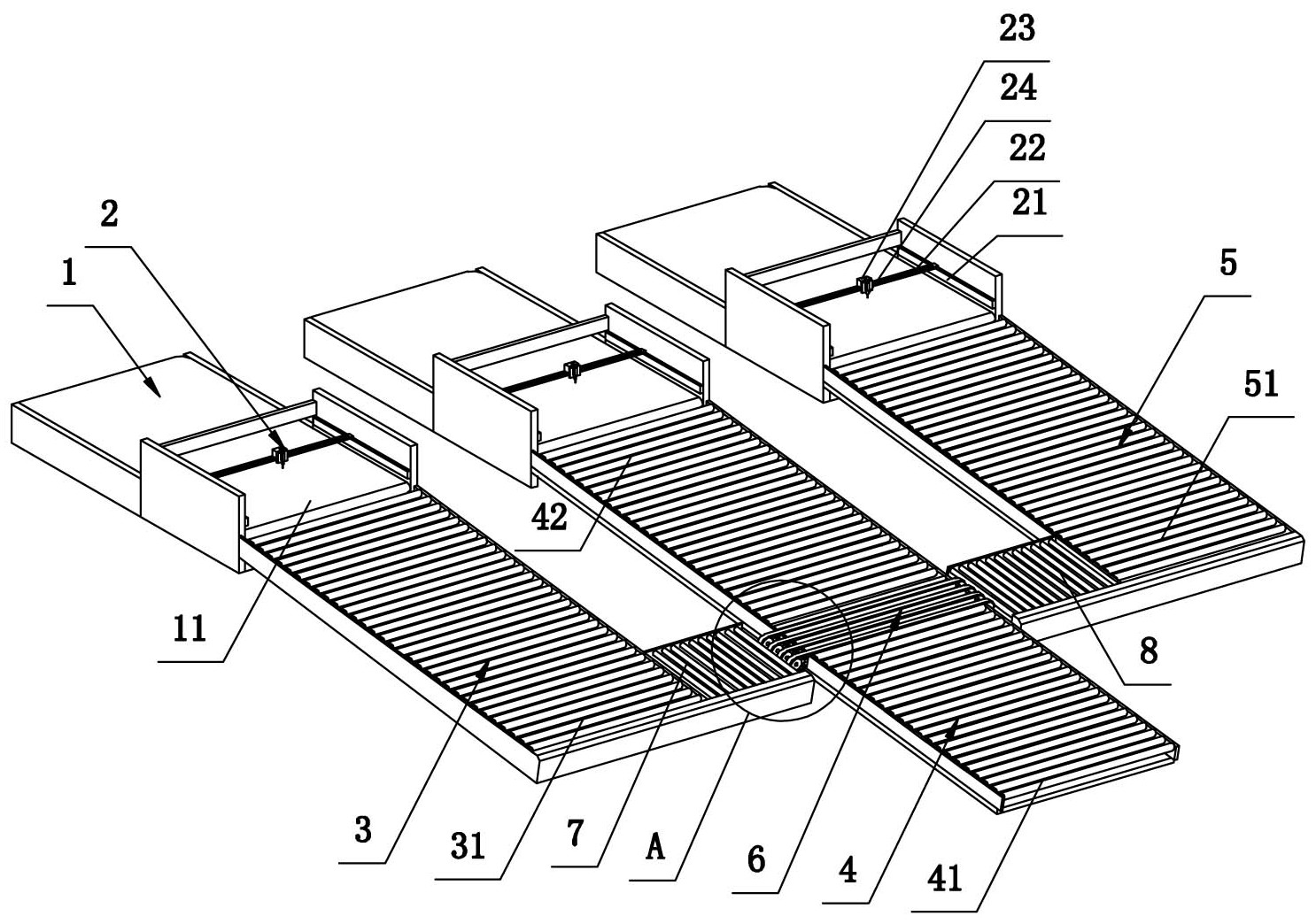
cn207411610u_一种鞋底振动刀切割生产线有效
图片尺寸1486x1044
一种振动刀布料切割机的制作方法
图片尺寸1000x605
一种阻尼减振刀具的制作方法
图片尺寸443x177
一种可调节刀具角度的大视觉振动刀切割机的制作方法
图片尺寸443x419
cn209937007u_一种带有真空吸附功能的柔性材料数控振动刀切割机有效
图片尺寸1000x894
振动刀切割机采用刀片高频振动切割,切割振幅每分钟数万次,具有切割
图片尺寸444x237
振动刀切割机是一种高效紧密的切割设备,在使用时通切割导向架实现在
图片尺寸444x438
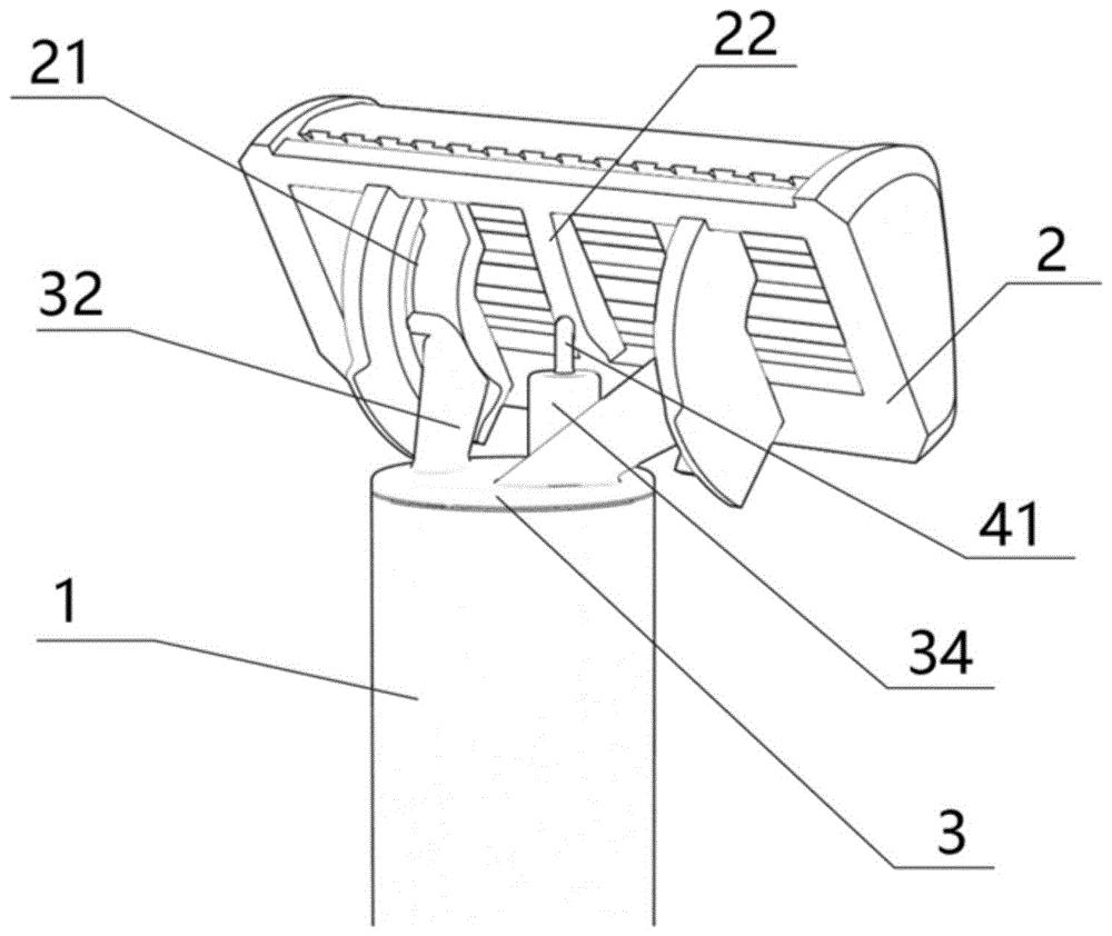
cn110480692a_一种振动剃须刀刀头结构
图片尺寸1000x842
振动刀主轴
图片尺寸442x734
加工过程中的振动会影响切削力的变化,工件加工表面质量以及刀具
图片尺寸443x183