振平尺结构图

义乌市黑白矿山机械有限公司
图片尺寸1000x874
一种改进型混凝土振平尺的制作方法
图片尺寸1000x416
html" title="一种大动力的混凝土振平尺原文来自x
图片尺寸592x269
一种测量身高以及水平的卷尺
图片尺寸1811x1272
一种基于软传动轴的振平尺制造技术
图片尺寸341x343
厂家直销平振直震器全自动直振器配重振动盘直震器
图片尺寸750x579
产品展示
图片尺寸910x910
专利详情
图片尺寸800x698
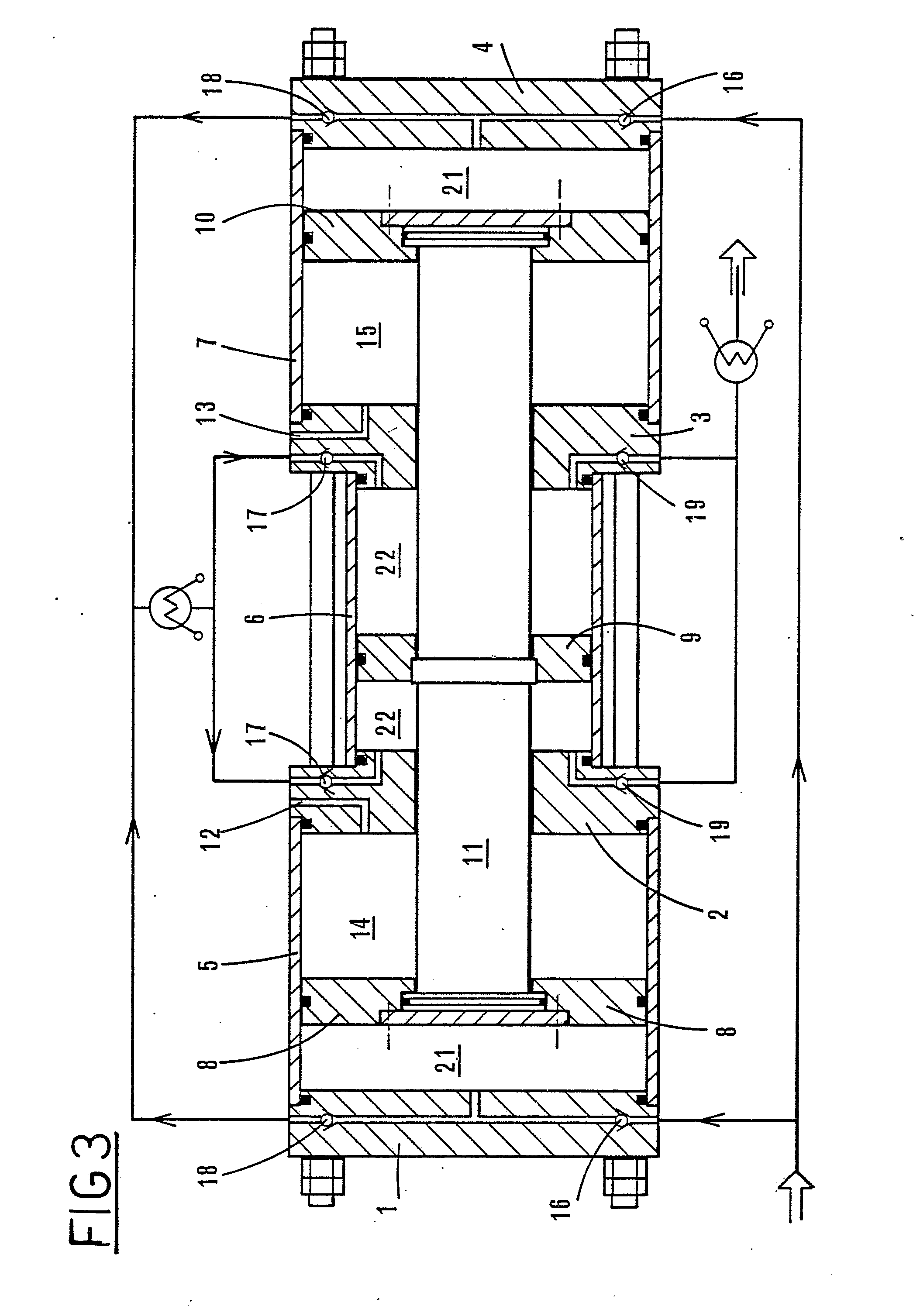
positive displacement hydraulic-drive reciprocating compressor
图片尺寸2107x3015
charge pump and auxiliary pump for hydrostatic tr
图片尺寸1992x2787
热销铝合金刮板尺混凝土路面加厚振平机提浆刮平设备
图片尺寸749x557
一种容栅式数显卷尺的制作方法
图片尺寸992x1000
tajima/田岛水平尺bx2-s60 600mm 标准型
图片尺寸750x624
【汽油混凝土振平尺 电动振平尺 混凝土振动尺厂家直销
图片尺寸666x677
cn101644556b_一种卷尺及其驱动机构失效
图片尺寸1423x2050
jjg1-1999钢直尺
图片尺寸920x1333
结构2一种双层套管混凝土桩及其施工方法3一种生根增强型灌注桩施工
图片尺寸1744x2436
hold-down device for plate shears
图片尺寸1923x2423
一种建筑用水平尺的制作方法
图片尺寸1000x411
【创新设计】2016高考物理一轮复习 第1课时 机械振
图片尺寸239x332