换热器设计图

管壳式换热器的机械设计|换热器|机械设计_手机网易网
图片尺寸960x720
换热器图_word文档在线阅读与下载_无忧文档
图片尺寸3576x2526
x双层壳程固定管板换热器-爱企查
图片尺寸2598x1772
双管板换热器图纸_word文档在线阅读与下载_免费文档
图片尺寸893x1263
化工原理设计:换热器设计cad模板#化工 #cad #设计 - 抖音
图片尺寸854x605
一种具有减振折流板的换热器-爱企查
图片尺寸4832x2637
dn800x7500卧式固定管板式换热器设计(牛奶-稀盐水)_至和网zhwtk.com
图片尺寸1200x800
双管板式搪玻璃列管换热器-爱企查
图片尺寸1628x2227
一种夹套式换热器-爱企查
图片尺寸699x1773
一种新型熔盐换热器-爱企查
图片尺寸1700x1232
列管式换热器设计模板,列管式换热器设计文档下载-知享网
图片尺寸2338x1653
立式滴状冷凝汽—水列管换热器专利_专利申请于undefined_专利查询 -
图片尺寸1536x2711
【cad图纸】换热器总装图_文档下载
图片尺寸1311x927
dn600x4500卧式固定管板式换热器设计(花生奶-水)_至和网zhwtk.com
图片尺寸1200x800
高效浮头式水-水换热器-爱企查
图片尺寸2016x1184
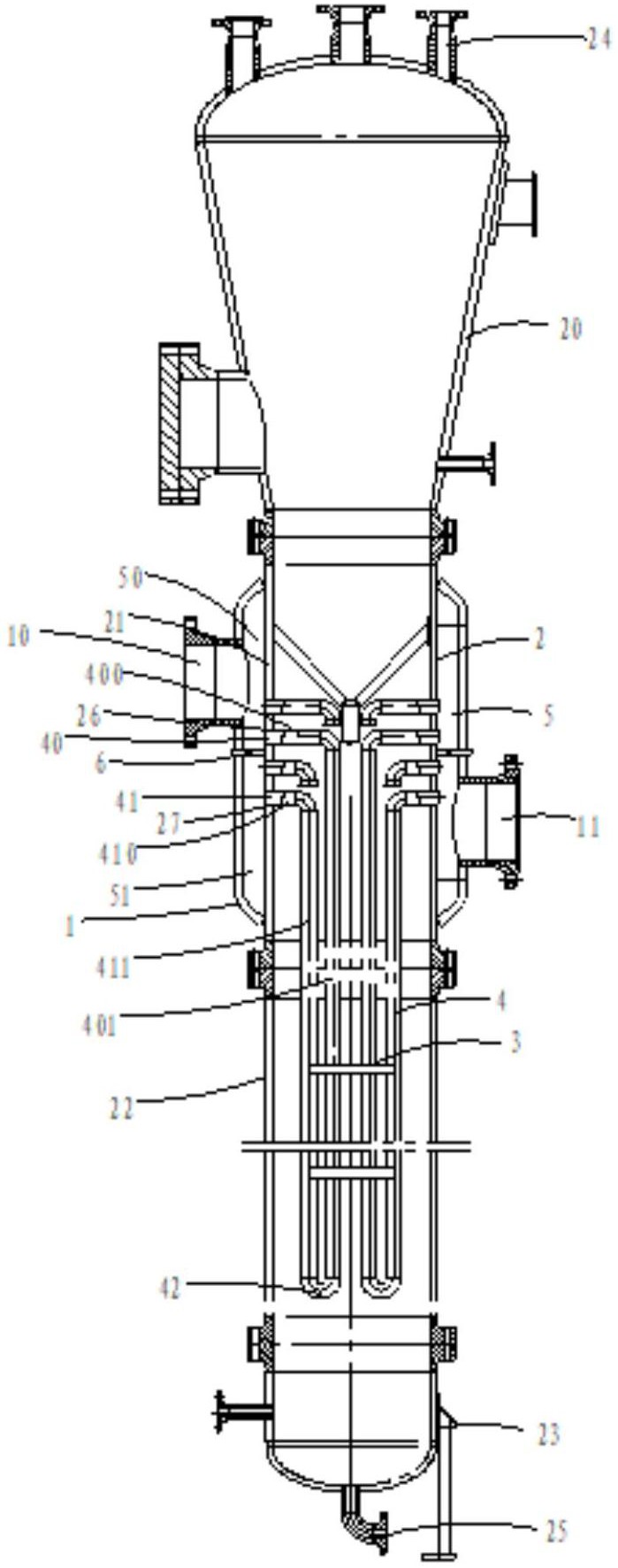
一种u型换热管可前后往复摆动的容积式换热器专利_专利查询 - 天眼查
图片尺寸1802x2080
spiral heat exchanger
图片尺寸579x739
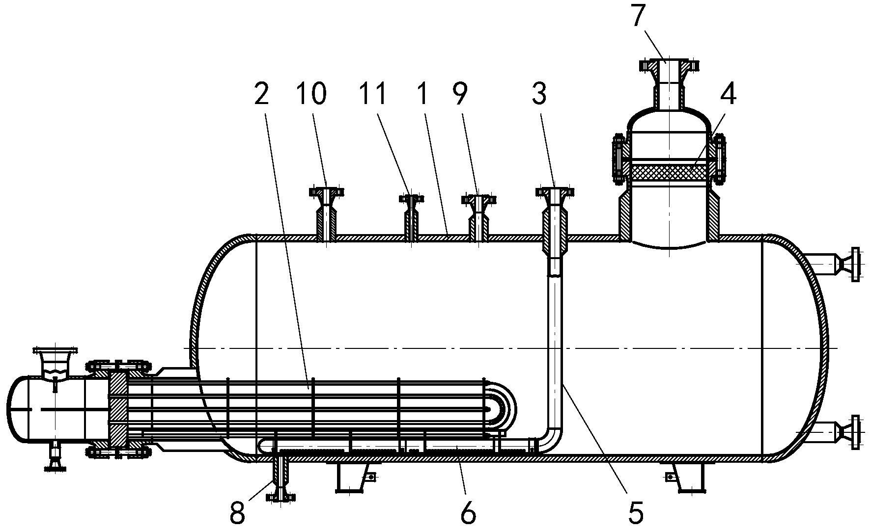
一种釜式换热分离装置-爱企查
图片尺寸1773x1080
浮头式换热器装配图
图片尺寸920x1301
列管式换热器设计模板,列管式换热器设计文档下载-知享网
图片尺寸2338x1653