捣药罐简笔画

手绘罐子
图片尺寸610x364
土黄色中医捣药罐手绘
图片尺寸650x651
一种捣药罐-爱企查
图片尺寸453x800
捣药用具素材图片
图片尺寸610x650
药罐矢量线图标
图片尺寸1100x1100
捣药罐子表情包
图片尺寸260x195
熬中药简笔画
图片尺寸720x629
药罐图标
图片尺寸512x512
木棍捣蒜罐
图片尺寸650x651
中国古代传统中医药工具 捣罐铜臼 药杵臼线稿矢量标志素材
图片尺寸450x470
中药熬药罐线描风
图片尺寸650x651
捣药罐矢量
图片尺寸350x350
便于包扎打包的捣药罐-爱企查
图片尺寸397x422
一种捣药罐的制作方法
图片尺寸567x1000
矢量卡通捣药器皿png素材透明免抠图片-卡通手绘
图片尺寸650x516
药罐火炉简笔画
图片尺寸800x450
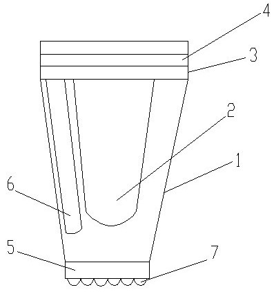
一种中医捣药罐
图片尺寸1430x1654
煮中药的工具简笔画
图片尺寸425x410
一种用于中药材加工的捣药罐的制作方法
图片尺寸284x444
煎药器简笔画
图片尺寸900x600