排枪原理

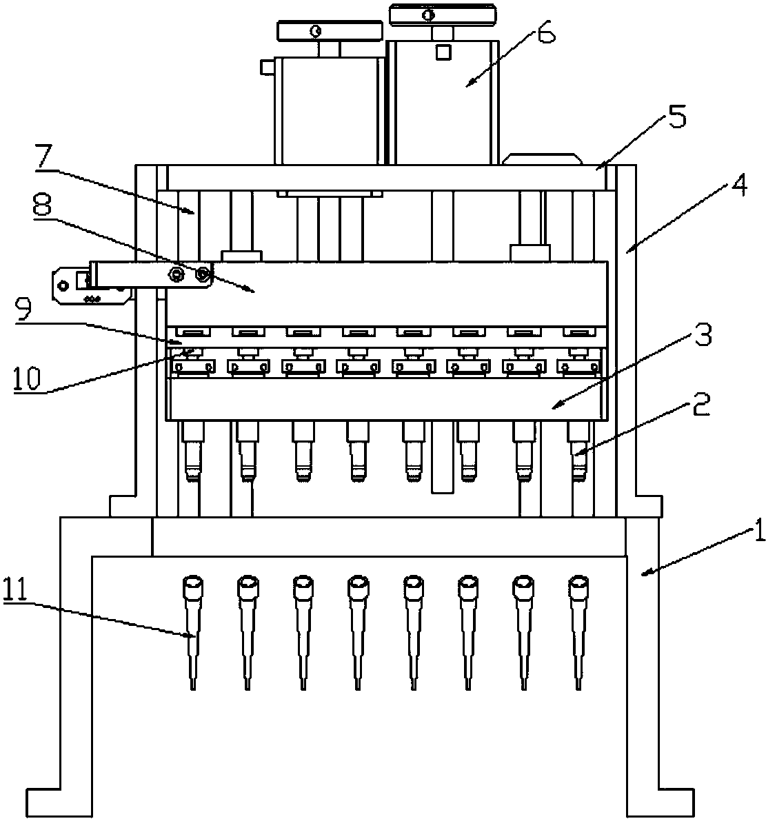
cn108982891a_一种新型自动多活塞排枪加样机构在审
图片尺寸1111x1191
18世纪的欧洲军队为何要采用排枪对射的战术有什么优势
图片尺寸640x342
力辰微量移液器单道大容量多进移液枪加样排枪吸头器抢盒支架锋森0125
图片尺寸790x1196
东成钉枪3050直钉抢1013码钉枪64钢钉枪钢排枪蚊钉木工气动工具
图片尺寸800x800
重庆弘愿天工st64气动钢钉枪64钢钉枪水泥钉枪50钢排枪线槽钉枪定制
图片尺寸800x800
下的衰减特异性信号,识别原矿中的废石和矿石,再配合高速气排枪实现矿
图片尺寸1080x524
现代排枪梅洛卡12管20毫米近防炮西班牙出品
图片尺寸500x540
然后要分清有近战兵种保护的方阵式排枪战术和纯火枪兵的线式战术之间
图片尺寸500x393
排枪 (电影)
图片尺寸300x300
欧洲排枪战术那么死板,为什么清朝就是找不到破解之法?
图片尺寸640x336
1862年美国人发明的加特林排枪资料图片
图片尺寸590x443
燧发枪的传奇:排枪时期的王者,整整主导了欧洲战场200余年|射击|步枪
图片尺寸640x349
东成钉枪30b直钉枪蚊钉枪码钉枪钢钉枪卷钉枪钢排枪气钉枪东城
图片尺寸800x800
军工│法国25管利飞排枪,150年前的大杀器!
图片尺寸536x418
钉枪美特st射钢排气动动气排枪钢钉抢排钉抢气钉枪
图片尺寸750x1000
200ul移液器枪头 吸头 硅化 可上排枪 可高温高压不变形
图片尺寸800x800
燧发枪排枪时代的明星
图片尺寸580x495
普兰德排枪可调移液器8道
图片尺寸700x502
大龙8道排枪0510ul大龙8道手动移液器大龙排枪价格
图片尺寸800x600
中杰 耐战 气钉枪 st64 钢排枪 钢钉枪 木工枪 带保险 直钉枪
图片尺寸1280x960