接力章怎么画

【红领巾学院】下一棒,我来_接力
图片尺寸1080x1080
北城·动态 |"快乐争章 体验成长" ---市桥北城小学"红领巾争章"剪影
图片尺寸846x1178
汪汪队里的金牌怎么画
图片尺寸500x670
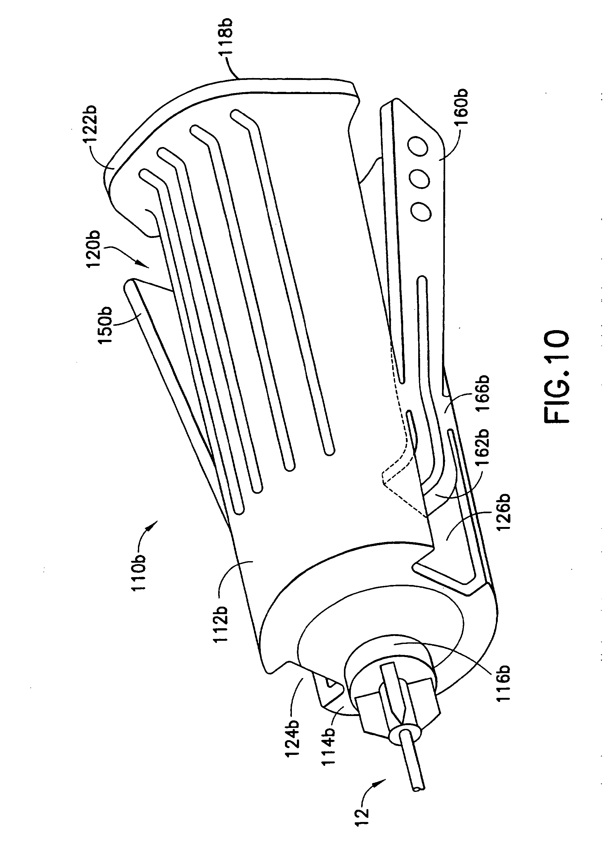
needle holder with safety needle assembly
图片尺寸1949x2705
插图素材: 接力棒 查看全部
图片尺寸450x183
(1)画出滑轮组的绕线方式.(2)请分析
图片尺寸631x870
成就奖章
图片尺寸700x737
重庆市2018年中考物理总复习测试 第4讲 压强 第一
图片尺寸358x441
领奖台
图片尺寸500x361
膝关节结构与生物力学特点详解
图片尺寸484x630
奖章简笔画红领巾奖章简笔画
图片尺寸500x357
北城动态快乐争章体验成长市桥北城小学红领巾争章剪影
图片尺寸1080x1412
简笔画接力
图片尺寸772x500
北城动态快乐争章体验成长市桥北城小学红领巾争章剪影
图片尺寸846x1130
不好了,班长和副班长打起来了,这一会儿老师开会去
图片尺寸750x750
【文化育人·动态】抓实规范训练 培养良好习惯
图片尺寸1334x1000
章一星章徽章向阳章光荣入队章胸针扣接力章先锋徽章订制作立志立德章
图片尺寸800x800
顶呱呱 乳酸菌饮品 接力赛
图片尺寸900x383
北城·动态 |"快乐争章 体验成长" ---市桥北城小学"红领巾争章"剪影
图片尺寸1080x1518
中国大学生校园路跑接力赛纪念章
图片尺寸1038x1278