接地极设计图

接地极安装示意图-布局2
图片尺寸893x1263
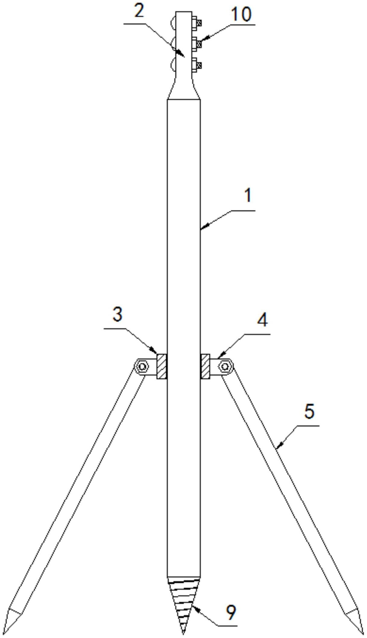
一种可快速安装的野外用接地极-爱企查
图片尺寸1218x2114
复合接地极(接地极和接地带)
图片尺寸497x576
5m左右,接地极应垂直埋入地下,其上端面的深度不应小于0.6~0.
图片尺寸640x420
10kv配电室的防雷与接地设计-常见问题 - 新闻资讯-山西捷力通防雷
图片尺寸1000x998
深井型和垂直型直流接地极的导流方式
图片尺寸510x563
接地系统连接示意图
图片尺寸1150x852
地面以下垂直接地极放热焊接
图片尺寸640x565
06人工接地极做法
图片尺寸524x364
图5-38 钢管接地极制作
图片尺寸450x425
江苏省定型设计接地装置.
图片尺寸539x384
接地装置做法图
图片尺寸424x459
独立基础需不需要做人工接地极
图片尺寸583x564
每日一练防雷接地的基础知识接地极
图片尺寸664x312
接地极做法详解 接地极多少钱一根?
图片尺寸490x392
接地系统中的人工接地极怎么载图面上表示?
图片尺寸430x256
接地系统图
图片尺寸1191x841
8 对高阻率的土壤处理 因土壤电阻率高而使接地电阻达不到设计或规范
图片尺寸712x331
伏妹儿课堂丨分布式光伏系统之防雷接地设计
图片尺寸740x373
建筑接地极做法示意图 建筑物外接地极符号
图片尺寸497x348