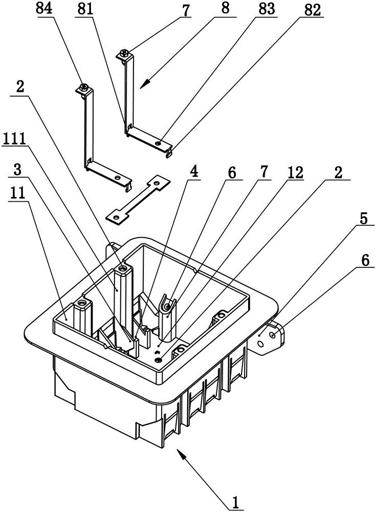
接线盒结构图

电机接线盒结构
图片尺寸1678x1990
螺丝防脱落式光缆接头盒制造技术
图片尺寸1540x1348
一种结构紧凑式电机接线盒的制作方法
图片尺寸878x919
全国包邮光缆金属接头盒 厂家直销优质接续盒 批发订购接线盒
图片尺寸800x800
盒,详解 1 用途 本产品适用于直径Φ22mm以内的各种型号,结构光缆
图片尺寸554x320
cn213072569u_一种实时监测光伏组件二极管运行状态的接线盒
图片尺寸1314x1000
美式金属接线盒,暗盒,防水型压铸锌铝合金底盒4"八角1-1/2"d
图片尺寸1920x1357
电伴热防爆二通接线盒的妙用介绍
图片尺寸559x260
cn101867245a_一种电机接线盒结构失效
图片尺寸1818x1800
接线盒的制作方法
图片尺寸1000x880
一种矿用隔爆型低压电缆接线盒制造技术
图片尺寸310x304
24芯pc光缆接头盒 光纤接线盒【价格 配置图片】
图片尺寸600x333
cn112782444a_一种带电更换电能表的接线盒
图片尺寸1436x1717
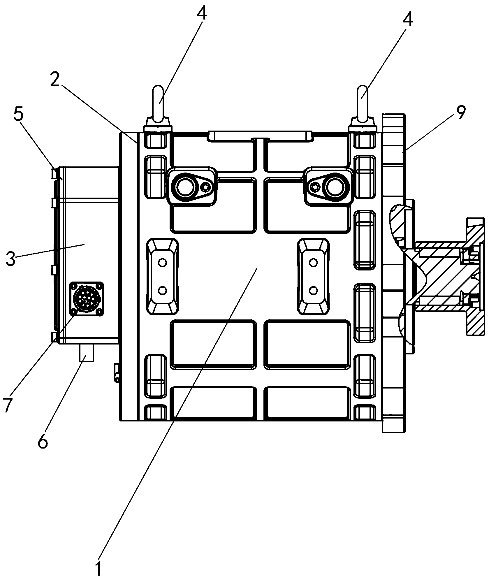
包括散热罩,接线盒主体,限位结构和盖体,所述接线盒主体内部的一端
图片尺寸1588x1348
一种高稳定性光伏组件接线盒的制作方法
图片尺寸443x370
一种便于安装布线的接线盒
图片尺寸1874x1261
012两位端子接线盒 材质:pp环保阻燃料 颜色:黑色 产品结构:012接线盒
图片尺寸710x522
cn202678877u_接线盒有效
图片尺寸735x1000
cn102142476a_一种适合自动化组装用的太阳能组件接线盒有效
图片尺寸807x1171
太阳能光伏发电组件接线盒
图片尺寸1905x1831