控制阀简图

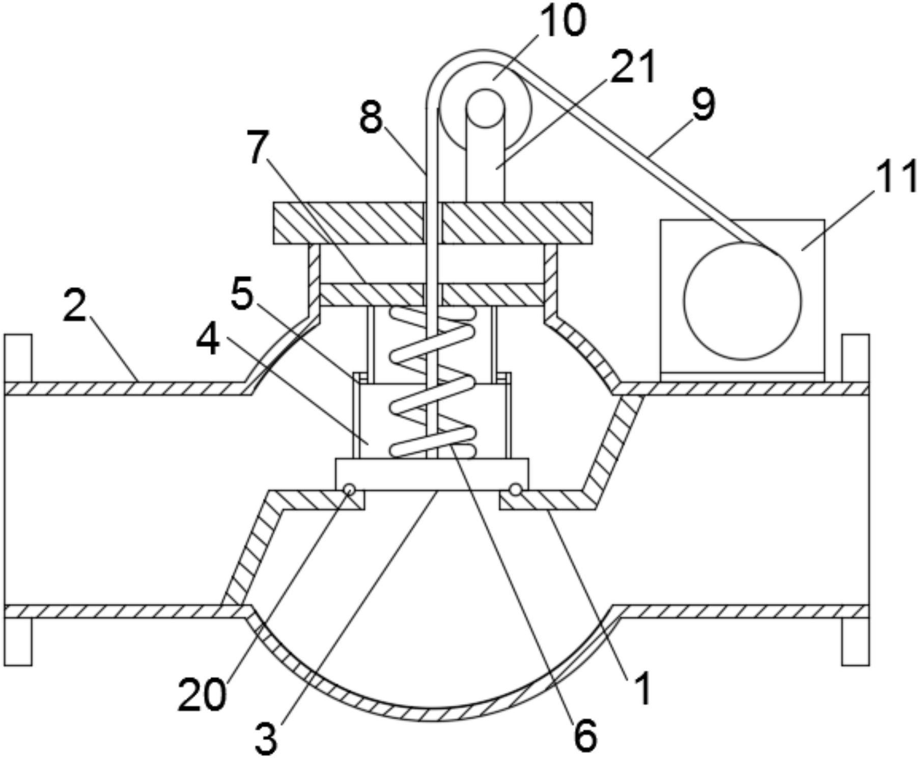
一种自控截止阀
图片尺寸1878x1646
电磁两位三通阀电磁控制端有一路空气是什么意思
图片尺寸1744x1240
一种自力式流量控制阀
图片尺寸1000x839
流量控制阀的制作方法
图片尺寸1000x969
水力控制阀原理水利控制阀品牌
图片尺寸378x347
阀门简图cad
图片尺寸1034x656
一种密封效果好的水利水电用控制阀
图片尺寸890x1000
控制阀
图片尺寸1784x1639
120型控制阀
图片尺寸1080x810
如下画法:减压阀是采用控制阀体内的启闭件的开度来调节介质的流量,将
图片尺寸1594x976
一种先导式柱塞型控制阀制造技术
图片尺寸794x1000
由单片机控制继电器控制电磁阀的简图
图片尺寸1038x744
第五章 液压控制阀简式内外泄液控阀
图片尺寸1080x810
第一节 压力控制阀
图片尺寸704x1226
cn201306486y_多功能水泵控制阀失效
图片尺寸1727x2381
一种带限制的高度控制阀的制作方法
图片尺寸1000x825
多功能水力控制阀在供水管网选型指南
图片尺寸1000x995
一种线控水力控制阀
图片尺寸1803x1489
控制阀的制作方法
图片尺寸1000x918
一种120型货车空气控制阀
图片尺寸800x1078