推力轴承 设计

图一 推力轴承强迫内循环冷却结构
图片尺寸500x380
推力圆柱滚子轴承
图片尺寸447x733
推力轴承图片
图片尺寸499x364
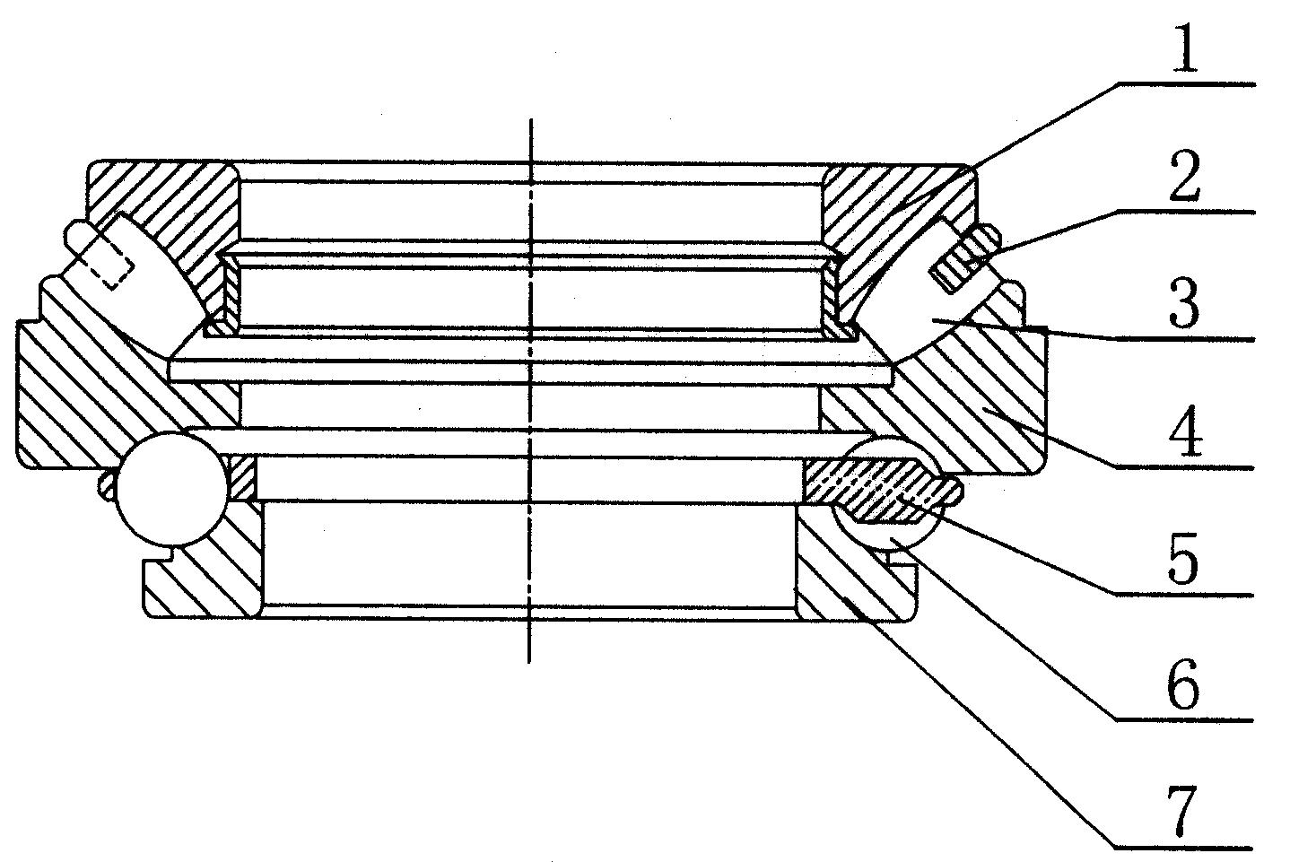
一种水润滑错位推力轴承
图片尺寸2563x1512
平面推力圆锥滚子轴承
图片尺寸1080x1440
推力球轴承_推力球轴承厂家_洛阳鸿元轴承_honb
图片尺寸1919x807
53000u带球面座圈的外调心推力球轴承
图片尺寸1141x1044
cn211693219u_一种新型可倾瓦径向推力滑动轴承
图片尺寸1285x1471
进口iko推力滚针轴承axk4565 5070 5578 6085 6590 7095 75100 as
图片尺寸1800x1800
某机组推力轴承问题原因分析
图片尺寸500x370
推力调心滚子轴承图详解
图片尺寸427x575
首页 设计图库 推力球轴承51308设计图库目录 类目: 描述
图片尺寸297x302
fag推力调心滚子轴承图纸
图片尺寸422x230
轴承特性skf球面滚子推力轴承拥有特殊设计的滚道和不对称滚子.
图片尺寸644x836
nsk 推力圆柱滚子轴承29460样本图纸
图片尺寸500x500
推力球轴承
图片尺寸600x450
水轮发电机推力轴承
图片尺寸782x709
双向推力组合轴承-爱企查
图片尺寸1438x961
推力滚子轴承图纸
图片尺寸530x320
timken20tp103推力轴承尺寸图纸
图片尺寸328x479